微软AR/VR专利提出通过LED阵列照亮空间光调制器SLM
查看引用/信息源请点击:映维网Nweon
通过LED阵列来照亮SLM
(映维网Nweon 2023年08月08日)投影系统可以使用空间光调制器SLM生成图像。在名为“Illuminating spatial light modulator with led array”的专利申请中,微软提出了一种通过LED阵列来照亮SLM的方法。
投影系统可以使用空间分离的光源作为红、绿、蓝照明光来照亮SLM,其中每个空间分离的光源包括单个光源。光源发出的光线通过照明系统光学进行成形和组合,以实现SLM照明的适当光束整形和均匀化。

然而,光源和相应的光学元件所占用的空间体积可能会使这种紧凑形式的投影系统的使用复杂化。图2A示出利用这种空间分离光源的示例性投影系统200的框图。图2B显示了投影系统200的展开表示200A。
更具体地说,投影系统200包括照明级201和图像形成级203。照明级201包括绿色光源(例如绿色LED) 202、蓝色光源(例如蓝色LED) 204和红色光源(例如红色LED) 206。
来自绿色光源202的绿光通过光学器件208、210、212至光束组合器214。同样,来自蓝色光源204和红色光源206的光通过光学元件216、218、220到达光束组合器214。光束组合器214将红光、绿光和蓝光组合成一束,并将光束引导到微透镜阵列MLA 222。
微透镜阵列222使光束均匀化,而这有助于形成光束。微透镜阵列222将所述光输出至棱镜224,棱镜224将所述光引导至透镜226。然后透镜226将光线引导到成像级203。
图像形成级203的偏振分束器PBS 228引导光通过透镜230并朝向SLM 232,而SLM 232由控制器233控制以形成图像。
来自SLM 232的图像光通过透镜230和偏振分束器228返回,从反射器234(包含在偏振分束器228中)反射,然后通过透镜236(包含在偏振分束器228中)向其他投影光学元件242进行显示。

如上所述,投影系统200可能难以适应特定形状参数,例如眼镜。参考图2B,包含绿色光源、光源透镜和光束组合器214的尺寸244可以约为7mm。包括蓝色/红色光源和相应的光源透镜的尺寸246可能约为3mm。包括微透镜阵列222、棱镜224和透镜226的尺寸248可以约为9毫米。包含偏振分束器228的尺寸250可约为5毫米。包含透镜230和SLM 232的尺寸252可能约为3毫米。
与同一系统的未展开版本相比,投影系统200的光路的折叠可帮助沿着至少一个维度减小投影系统的尺寸。然而,进一步缩小规模可能会带来挑战。例如,减小照明级201的尺寸可能导致在较短的路径长度上正确塑造和均匀化光的困难。
因此,微软提出可以利用红色、蓝色和绿色LED的一维或二维阵列作为光源来照亮SLM,而不是用于每种颜色的单独的、空间分离的LED光源。
LED阵列的大小可以允许源发射射线在空间上更广泛地分布,与使用每个颜色的单独、空间分离的LED相比,这可以减少用于塑造和均匀化光的光路长度,并允许使用更少和/或更紧凑的照明系统光学元件来控制光的角度范围和/或均匀化光。

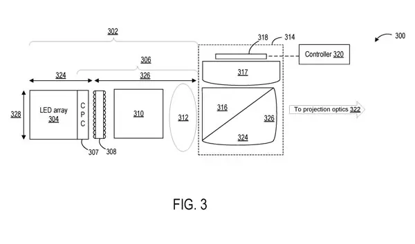
图3示出利用LED阵列302作为SLM照明光源的示例投影系统300。例如,投影系统300可用于投影增强现实头戴式显示设备100中的图像。
投影系统300包括照明台302,其中包括LED阵列304和照明状态光学系统306。LED阵列304包括以任何合适的空间排列的多个红色LED、绿色LED和蓝色LED。作为一个例子,LED阵列304可以包括2×3 LED网格,其中红色LED、绿色LED和蓝色LED各有两个排列在任何合适的相对位置。
在其他实施例中,LED阵列304可以包括更大的网格,例如,6×6网格各具有12个红色、绿色和蓝色LED。
在一个示例中,LED可以包含发射器尺寸在数百微米量级的Micro LED。单个Micro LED可以具有任何合适的发射器形状,例如矩形形状。LED阵列可以封装在同一个封装中,并且封装的总尺寸可以从2×2毫米到5×5毫米不等。
LED阵列304发出的光由照明级光学系统306的复合抛物面聚光器CPC 307形成。使用LED阵列304提供了不同颜色的光分布在更广泛的区域。这有助于避免使用一组透镜来塑造和准直来自空间分离的每种颜色的单个LED的光,从而避免了使用光束合并器。
在其它示例中,可以使用通过二向色或光束组合器组合的不同颜色LED阵列。例如,一个LED阵列可以包括红色和蓝色LED,而另一个LED阵列可以包括绿色LED。每种颜色的LED阵列都可以包括复合抛物面聚光器。复合抛物面聚光器307控制光的角度范围,并有助于消除用于准直光的透镜和/或其他光学元件的工作距离。
在其他示例中,可以使用透镜阵列或用于减小光的角延伸的其他合适的准直光学元件来代替复合抛物面聚光器。
由复合抛物面聚光器307形成的光通过照明级光学系统306的微透镜阵列308、棱镜310和透镜312进一步形成和引导。来自照明级光学系统306的光被定向到包括偏振分束器316、透镜317和SLM 318的成像级314。
控制器320控制SLM 318以产生用于显示的图像。偏振光分束器316同时包括反射器324和透镜326,它们将来自SLM 318的光重定向到投影光学元件322。在其他实施例中,利用LED阵列和复合抛物面聚光器的投影系统可以具有任何其他合适的配置。
所述照明级302的尺寸可以小于投影系统200的照明级201的尺寸,从而可以帮助减小包含投影系统300的投影装置相对于包含投影系统200的装置的尺寸。例如,尺寸324表示微透镜阵列308上游的光学元件,其可能约为5mm,而投影系统200的相应尺寸244则为7mm。因此,图3B的布置可以更容易地适合于细长的形状参数,例如眼镜。
尺寸的进一步减小可以通过消除投影系统300的复合抛物面聚光器,并使用平面非成像光学元件来帮助塑造和均匀化来自LED阵列的照明光来实现。

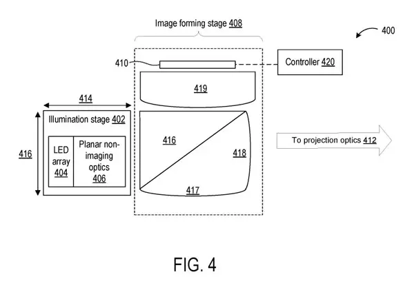
图4示出一个示例投影系统400,其包括利用RGB LED阵列404和平面非成像光学元件406的照明台402。投影系统400是可用于在增强现实头戴式显示设备100中投影图像的投影系统的另一个示例。在本例中,平面非成像光学元件406的使用允许投影系统400省略微透镜阵列,从而进一步减小了投影系统的体积。
投影系统400进一步包括偏振分束器416(其包括反射器417和透镜418)、透镜419和用于控制SLM 410的控制器420。在其他示例中,利用LED阵列和平面非成像光学器件的投影系统可以具有任何其他合适的配置。
任何合适的非成像光学器件都可以用作平面非成像光学器件406。平面非成像光学元件406可包括被配置为控制光的角分布并使来自LED阵列404的光均匀化的漫射器。因此,所述扩散器执行投影系统300的复合抛物面聚光器和微透镜阵列的功能。
在一个实施例中,可以使用工程漫射器,其可以配置为将漫射光指向优选方向。工程扩散器同时可以控制扩散量,扩散量可以在不同的轴之间变化。
在其它示例中,平面非成像光学元件406可另外或可选地包括亮度增强膜。例如,亮度增强膜可与LED阵列404合并为位于LED上方的膜。亮度增强膜利用折射和反射,将相对于系统光轴在一定角度范围内射出的光向成像级408折射,从而提高来自LED阵列404的光的效率。超出此范围的光被亮度增强膜回收,直到它在允许的角度范围内退出。
在另一实施例中,平面非成像光学元件406可另外或可选地包括双亮度增强膜。例如,双亮度增强膜可与LED阵列404结合作为衬底。双亮度增强膜是一种多层薄膜反射偏振器,可以输出一种偏振的光,同时回收另一种偏振的光,从而输出优先偏振的光。
由于SLM 410可以配置为接收和调制偏振光(例如,其中SLM 410包括LCOS或透射LCD),双亮度增强膜可以配置为主要输出SLM 410接收方向的偏振光,从而提高光效。
在这种实施例中,光的空间分布可由LED阵列提供,而光的角度分布可由漫射器、亮度增强膜和/或双亮度增强膜提供。
如上所述,平面非成像光学元件406的使用可以允许省略复合抛物面聚光器和微透镜阵列,从而可以为投影系统400提供比投影系统300和投影系统200更紧凑的尺寸。作为尺寸示例,表示偏光分束器416上游光学元件的投影系统400的照明台402的长度414可为6 mm。相比之下,照明级302的总长度为14毫米。
在进一步的示例中,投影系统可以包括照明级光学系统,其利用光导来塑造和均匀化用于SLM照明的来自LED阵列的光。光导可能是相对薄而平,因此适合于小的设备形状参数。

图5示出包括LED阵列502和光导504的示例性投影系统500。
光导504通过全内反射提供折叠光路,从而在比光导的尺寸长度长的光路上进行均匀化和整形。光导504可以有任何合适的配置。作为一个示例,光导504可以采用矩形棱镜的形式,并且长度在15mm至70mm的范围内。在这样的实施例中,光导可具有5mm至15mm范围内的宽度,以及0.3 mm至6.0 mm范围内的厚度。在其它实施例中,光导504可具有任何其它合适的形状和/或尺寸。
光导504包括耦入器506,耦入器506配置为将从LED阵列502接收的光耦合到光导504。光导进一步包括耦出器508,其配置为将来自光导504的光耦合到成像级510的光学器件。在本例中,耦出器508将光向成像级510的偏振分束器512分开。
类似于上述的其它示例,偏振分束器512包括反射器513和透镜514。来自偏振分束器512的光通过透镜516照射SLM 518, SLM 518由控制器516控制。
对于其他示例,所得到的图像如上所述进行投影。在其它实施例中,包含光导的投影系统可并入任何其它合适的光学系统。
耦入器506和耦出器508各可包括任何合适的结构,分别用于将光耦合到光导504和从光导504中耦出。例子包括折射或反射结构,如反射镜和棱镜,以及光栅这样的衍射结构。
在图5的示例中,来自LED阵列的光在矩形光导的平面耦合。在其它示例中,光导可包括安装LED阵列的斜角或角边。在这样的例子中,光可以在不使用光栅或棱镜的情况下耦合到光导中。
光导可以具有与图5所示的不同的相对于成像台的任何合适的方向。这种灵活性可以允许投影系统包括用于照亮SLM的光导和LED阵列,以适应各种配置的设备。

图6示出通过投影系统投影图像的示例方法600,而投影系统如图3B、图4和图5所示的投影系统。
在602,从照明台的LED阵列向照明台的照明台光学系统输出光。
在604,控制LED阵列在照明级光学系统上发出的光的角度程度并使其均匀化。
在618,将来自照明级光学系统的光输出到包含SLM的成像级。
相关专利:Microsoft Patent | Illuminating spatial light modulator with led array
https://patent.nweon.com/29599
名为“Illuminating spatial light modulator with led array”的微软专利申请最初在2022年1月提交,并在日前由美国专利商标局公布。
---
原文链接:https://news.nweon.com/111288

