缩编、欠薪、毛坯房办公,二元游戏还没走出资金困境

题图 |《跃迁旅人》
声明 | 本文不含商业合作
作者 | 鳗鱼
《跃迁旅人》的重制版在7月12日正式上线了。不出所料在iOS双榜上都未能看到排名。当初号称「上亿宣发预算」,现在游戏看起来再没有心力大做宣传,背后的研发公司二元游戏也一直陷于资金困境的泥潭中未能脱身。
《跃迁旅人》在最新的公告中透露了团队缩编的事实。官方表示,游戏团队最早有70多人,创业后几经变动之后只剩下10多人,公司也从高端商圈写字楼搬到了现在的毛坯环境。公开信息显示,起初二元游戏的办公点位于北京大恒科技大厦,建筑面积将近1200m²,随后为缩减开支搬到了石景山畅游大厦11层,知情人士透露是合作方畅游免费提供了办公场地。
无从得知现在的「毛坯环境」究竟长什么样,但从描述来看,很难和畅游大厦的环境联系在一起。有知情人表示确实已从畅游搬离。

《跃迁旅人》官方公告
遭遇困难的不只有《跃迁旅人》这一个项目。公司美术总负责人蘑菇在微博中透露自己已经离职,并表示另一款在研项目半途腰斩。据了解,新项目原本也是《跃迁旅人》同IP的游戏产品。现在二元游戏没法大推《跃迁旅人》,也无暇顾及新的项目。

公司经营困难的状况可能持续了超过半年。
最早在去年10月就有消息传出二元游戏正在违法裁员。年初《跃迁旅人》在发布停更公告的时候,遇到了数名疑似前员工的用户发出声讨,表示裁撤人数有80人左右。同样是在这段时间,公司资金紧张以及拖欠工资的情况也均被证实。

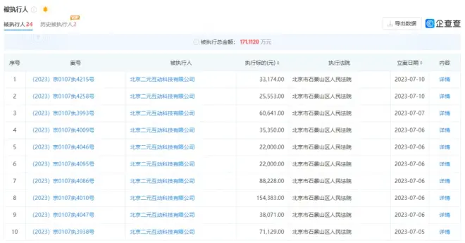
企查查显示,北京二元互动有2条历史被执行人记录发生在2月和3月,合计8万元;另外自6月份至今还有24条被执行人记录,合计171万元。估计纷争原因基本都是劳动争议,其中有5人申请对公司CEO贾菲申请了限制消费令,游戏新知了解到申请人包括曾任职服务器主程、HRBP等岗位的员工。可见裁员波及面甚广。
另一间公司主体北京二元互娱还被2家合作公司告上法庭,被执行总金额约5.5万元。2件案件的案由均为合同服务纠纷,其中一名原告广州舜广信息,该公司主要提供AB Test服务。

目前北京二元互动的24条被执行人记录
现在二元游戏还没有完全倒下,甚至近期还发了招聘消息。《跃迁旅人》新版本重新上线的成绩或将决定这家公司最终的命运。
二元游戏成立于2020年,一开始就计划做一家IP公司,并一次性立下了3个项目《跃迁旅人》《卢希达:起源》还有《跃迁旅人2》,均使用了同一套背景设定。
完成度最高、也最快上线的是《跃迁旅人》。
游戏在2022年6月拿到版号,8月份在国内开启了iOS版本的预订之后开启了一次付费删档测试。原本游戏计划由畅游负责发行,当时畅游还单独设立了发行品牌「莫比星球计划」,原定《跃迁旅人》会是该品牌下的首款产品,但最终游戏在9月份由二元游戏自主发行。
游戏采用了放置自走棋的玩法,尽管定位是相对轻松的中度副游,其上线后的商业成绩也确实有点不太够看——最高排在iOS畅销榜20名,1个多月之后就彻底掉到200名开外。

其海外版本还要稍早一些上线,在8月份登陆了欧美市场。由于不包括日韩市场,其出海表现也没什么水花。
宝通科技在年报中透露,公司将发行《跃迁旅人》的港台和日本版本,在2022年上半年预付了835万预付分成款和版权金,预计账龄在1~2年内,目前游戏仍未上线。电魂网络也曾表示将在东南亚地区发行《跃迁旅人》,但在最新的年度报告中就没有再提及这一项目储备。
《跃迁旅人》原计划和不同大厂合作,在这款游戏身上可以看到当初《梦境链接》的影子。只不过《跃迁旅人》却不像《梦境链接》一样有爆款的命。
游戏上线哑火之后,《跃迁旅人》团队在今年1月表示面临资金压力,团队也出现了变动和重组,随即表示停更游戏并开始制作新版本,玩家截至新版本上线之前依然能正常游玩主线内容(经验证,之前iOS版本未能正常登录)。最受到争议的是,游戏表示所有玩家的游戏数据不会被继承,只会保留相应的充值金额。
如今在新版本中,游戏开设了多个服务器、取消了职业共鸣(比如没有了刺客跳后排的玩法,降低了自走棋的比重)、抽卡和角色养成的模式做了相应的调整。重置游戏内容之后能取得什么样的商业成绩还是个未知数,至少再次开局的成绩不算太好。
起初贾菲在采访中透露期望《跃迁旅人》能往中腰部的产品靠拢。结合公司在成立初就定下「做IP」的目标,这样看起来《跃迁旅人》更像是一笔花钱赚吆喝的买卖,想要用一款产品率先收获口碑和知名度。只是现在显得有些事与愿违。
《卢希达:起源》的完成度也比较高,早前已经率先在海外市场上线。
今年1月游戏由米奈瓦互娱发行了韩国版本、3月份由电魂网络在马来西亚和新加坡市场发行,不过均没有引起什么水花。电魂网络的年度报告中透露,游戏计划今年在港澳台和大陆地区陆续上线。目前游戏尚未拿到版号。

《跃迁旅人2》则一直没有正式曝光,也是3款中唯一一款3D游戏,预计研发成本要更高。
公司在去年初曾曝光过《跃迁旅人2》的部分场景以及人物设计,游戏背景结合了克苏鲁、都市潮流等元素,玩法方面结合了战棋和MOBA要素。现在二元游戏陷入资金困境,估计短时间内也很难看到《跃迁旅人2》的正式面世。

二元游戏之所以选择在北京做二次元游戏,有很大一部分原因来自于创始班底的经验。
公司CEO贾菲曾经联合创办了北京龙拳风暴,带队推出了爆款二次元游戏《梦境链接》,国服首日流水过千万。但因为公司内部的争议以及版号的缘故,游戏上架不到一个月就从全渠道下架,不久后贾菲带着数十人的团队出走,并创立了二元游戏。
二元游戏之所以被看好有不少因素,例如团队的研发经验、磨合程度等。还有和腾讯的关系。
早前游戏新知通过采访了解到,腾讯曾经对龙拳风暴提出过收购邀约,但贾菲和其他创始人出现了分歧,有龙拳风暴的前员工认为这成为了贾菲离开的导火索。和腾讯的接触似乎也为贾菲之后创业埋下了种子。
在二元游戏成立初时,也就是2022年10月,腾讯的副总裁刘铭担任了北京二元互动的执行董事和经理、北京二元互娱的监事。包括在2021年成立了集团子公司天津巴特互娱的时候,最初也是由刘铭担任执行董事和经理。最终是在2022年3月,刘铭陆续卸任了在上述公司的监事、执行董事等职位。
其实在网络上还能找到《跃迁旅人》参与2020年腾讯游戏创意大赛的页面(不过在参赛名单中就未能检索出游戏的身影,或许是在后来的赛程中出现了变动)。

二元游戏在2021年2月获得腾讯投资、同年9月获得电魂网络投资,前者持股11.4%、后者持股5%。后续二元游戏和电魂网络达成了发行合作,但始终没有听闻腾讯有参与其中。最终即便有大厂加持,二元游戏还是免不了一步步走入困境中。
如今离开了龙拳风暴的贾菲等人未能实现自己的理想。当初的团队成员出于信任一同离开创业,大概也没有预料到这只是从一个坑出来、又跳进另一个坑里。