苹果全新古典音乐App终于上架丨AirPods将迎来全新体感操控功能

苹果古典音乐推出
很早之前,苹果就表示要推出一款专门的古典音乐 App ,顾名思义,里面主要是一些非常古典的音乐,例如莫扎特,贝多芬这类?
这是一款和自带音乐不一样的独立 App,目前这款 Apple Music Classical 已经登陆 App Store,预计于 2023 年 3 月 28 日上线,已经可以预约下载。


值得注意的是,这款音乐应用其实本体框架和自带的音乐是一样的,只是里面的歌曲不太一样,古典版本里面是 500 多万首经典音乐曲目。
亮点是里面有完整而且高品质的古典音乐,且支持空间音频播放,这些音乐非常难找,不过对于国人而言,这些几乎都是国外的古典音乐。
目前这款应用还没有在中国地区上架,不过苹果表示 Apple Music Classical 随后会在中国、日本、韩国等地上线。
AirPods 新功能
虽然 AirPods 目前已经出了多款,但是就功能而言,新款和老款几乎没有太大的区别,但苹果新的专利表明,未来 AirPods 将拥有体感操控功能。
根据美国专利局的公示清单来看,苹果已经获得了一项新的 AirPods 专利,这项专利可以让佩戴者使用头部移动来控制 AirPods 的播放操作。

从专利内容来看,这款 AirPods 内置的陀螺仪感应器,可以识别用户的头部位置,专利里面也写的很清楚,向下点头降低音量,向上抬头调高音量,也可以设置成左右晃头来调整音量。
虽然这种操作听起来很离谱,但苹果对于人体操作体验一直做的都挺好的,所以想必未来实际操作中应该会比听起来更加好用。
Apple Watch 远程操控
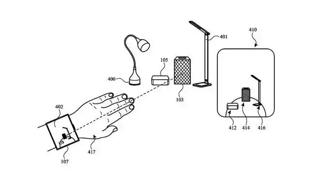
除了上面的 AirPods 体感操控之外,苹果还同步注册了一个新的 Apple Watch 远程体感操控专利,这个就更有意思了。
专利内容显示,Apple Watch 可以检测用户的手势和指向,用户只要佩戴 Apple Watch 直接指向设备,就可以远程控制这些设备。

专利图展示的一些操作也很直观,Apple Watch 中嵌入多个传感器,用来监控用户的手势,并根据手势来操控其它联网设备。
例如未来可以戴着 Apple Watch 的时候,指向 HomePod 就能快速切换歌曲或者音量,也可以指向你家的智能灯具还进行快捷开关。
不过目前这个技术依然处于研发阶段,不知道何时才能看到 Apple Watch 搭载这个功能。

