2023年08月12日美国专利局新申请AR/VR专利摘选
文章相关引用及参考:映维网Nweon
一共更新了51篇专利。
(映维网Nweon 2023年08月12日)近期美国专利及商标局公布了一批全新的AR/VR专利,以下是映维网的整理(详情请点击专利标题),一共51篇。更多专利披露请访问映维网专利板块https://patent.nweon.com/进行检索,你同时可以加入映维网AR/VR专利交流微信群(详见文末)。
1. 《Magic Leap Patent | Method of rendering using a display device(Magic Leap专利:使用显示设备进行渲染的方法)》

在一个实施例中,专利描述了一种支持两个或更多个用户能够在包括虚拟世界数据的虚拟世界内交互的系统。系统包括包括一个或多个计算设备的计算机网络,以及至少部分存储在存储器中并且可由处理电路执行以处理虚拟世界数据的至少一部分的软件;其中所述虚拟世界数据的至少第一部分源自第一用户本地的第一用户虚拟世界,并且其中所述计算机网络可操作用于将所述第一部分发送到用户设备以呈现给第二用户,使得所述第二用户可以从所述第三用户的位置体验所述第一部分,并且使得第一用户虚拟世界的各方面能够有效地传递给第二用户。
2. 《Magic Leap Patent | System and method for mapping(Magic Leap专利:映射系统和方法)》

在一个实施例中,专利描述了一种用于在具有通信耦合的第一和第二硬件组件的系统更新点图的计算机实现方法,所述方法包括第一组件在第一状态下对点图执行第一过程以产生第一改变;第二组件在第一状态下对点图执行第二过程以生成第二变化;第二组件在第一状态下将第二改变应用于点图,以在第二状态下生成第一更新的点图;第一组件向第二组件发送第一改变;第二组件在第二状态下将第一改变应用于第一更新的点图,以在第三状态下生成第二更新的点图。
3. 《Magic Leap Patent | Virtual and real object recording in mixed reality device(Magic Leap专利:用混合现实设备录制记录对象和真实对象)》

在一个实施例中,一种供终端用户使用的虚拟图像生成系统包括存储器、显示子系统、对象选择组件和控制子系统。对象选择组件配置为接收来自终端用户的输入,并响应于输入持续地选择至少一个对象。控制子系统配置成呈现三维场景的多个图像帧,将所述图像帧传送到显示子系统,生成来自至少一个所选对象的音频数据,并且将所述音频数据存储在存储器中。
4. 《Magic Leap Patent | Virtual, augmented, and mixed reality systems and methods(Magic Leap专利:虚拟现实,增强现实和混合现实系统和方法)》

在一个实施例中,专利描述了一种用于确定3D显示设备的用户的焦点深度方法。所述方法包括追踪用户的第一注视路径。所述方法同时包括分析3D数据以识别沿着用户的第一注视路径的一个或多个虚拟对象。所述方法同时包括当只有一个虚拟对象与用户的第一注视路径相交时,将仅有一个虚拟对象的深度识别为用户的焦点深度。
5. 《Magic Leap Patent | Depth Based Foveated Rendering For Display Systems(Magic Leap专利:基于深度的注视点渲染)》

在一个实施例中,专利描述了一种用于显示系统的基于深度的注视点渲染方法和系统。显示系统可以是增强现实显示系统,其配置为使用不同的波前发散来在多个深度平面提供虚拟内容。一些实施例包括确定用户眼睛的注视点。获取与第一虚拟对象相关联的位置信息。获取第一虚拟对象的分辨率修改参数。根据第一虚拟对象的位置信息和分辨率修改参数来识别渲染第一虚拟对象的特定分辨率。以所识别的分辨率渲染第一虚拟对象。
6. 《Meta Patent | Power management of receiver chain circuits based on traffic awareness(Meta专利:基于流量感知的接收器链电路功率管理)》

在一个实施例中,专利描述了一种提高无线通信设备能量效率的方法。基于确定传入无线数据是否将由RC在即将到来的持续时间内接收和处理,从而减少分配到接收器链电路(RC)的功率。设备可以识别用于处理将由设备从网络接收的数据的多个RC。设备可以确定多个RC中的第一RCC将在持续时间内接收数据,并且多个RC的第二RCC将在所述持续时间内不接收数据。响应于确定,该设备可以在持续时间内令功率减小到第二RCC而不减小到第一RCC。
7. 《Meta Patent | Power saving mechanisms for camera devices(Meta专利:摄像头组件的节能机制)》

在一个实施例中,专利描述了用于摄像头组件的节能机制。摄像头组件包括图像传感器和与图像传感器光学串联的透镜组件。在摄像头组件的第一方位,偏移在图像传感器的中心轴和透镜组件的光轴之间。在摄像头组件的第二方位,图像传感器和透镜组件中的至少一个由于重力而下垂,使得在摄像头组件处于中性状态时中心轴和光轴基本重叠。透镜组件和图像传感器可以进一步允许相对于彼此的动态下垂量。
8. 《Meta Patent | Color tuned optical modules with color calibration operations(Meta专利:具有颜色校准操作的颜色调谐光学模块)》

在一个实施例中,专利描述的方法包括具有彩色涂层的透镜、多个摄像头、处理器和存储器,所述多个摄像头包括可见光谱摄像头和红外摄像头,每个摄像头都位于透镜后面。彩色涂层包括用于选择性地透射光的多个区域。处理器和存储器可以配置为接收指示用于在设备执行操作的环境信息的光信息,识别由每个摄像头前面的颜色轮廓反射的光的波长,确定用于放大反射光的波长的颜色校准,基于颜色校准更新环境信息,并在设备执行操作。
9. 《Meta Patent | Methods, apparatuses and computer program products for enabling immersive video communications and live video streaming(Meta专利:实现沉浸式视频通信和实时视频流式传输的方法、装置和计算机程序产品)》

在一个实施例中,专利描述了一种用于在通信期间同时提供视频内容的多个视角的系统。系统可以接收由第一通信设备捕获的第一视频内容。第一视频内容可以与第一视点视角相关联,第一视点视角指示与第一用户在查看环境时经由第一通信设备查看的视图相关联的第一视频数据。系统可以接收由第二通信设备捕获的第二视频内容。第二视频内容可以与第二视点视角相关联,第二视点视角与指示环境内的第一用户或一个或多个对象中的至少一个的第二视频数据相关联。系统可以在与多个设备相关联的通信期间同时向一个或多个通信设备提供与第一视点视角相关联的第一视频数据和与第二视点视角相关的第二视频数据。
10. 《Meta Patent | Utilizing augmented reality data channel to enable shared augmented reality video calls(Meta专利:利用增强现实数据通道实现共享增强现实视频通话)》

在一个实施例中,专利描述的系统可以在包括视频(和音频)数据信道和AR数据信道的客户端设备之间建立视频呼叫。系统使得客户端设备中的一个能够通过AR数据信道发送AR数据,以使得另一客户端设备在视频呼叫期间在由另一客户端装置捕获的视频上呈现AR元素。系统可以在利用AR数据信道的视频呼叫期间实现AR环境、AR效果、基于AR的活动和/或单独的AR元素。
11. 《Meta Patent | Authentication of avatars for immersive reality applications(Meta专利:为沉浸式现实应用验证Avatar)》

在一个实施例中,专利描述的方法包括从客户端设备接收用于验证用户的身份的请求;在服务器中对照存储在服务器中的私钥验证客户端设备提供的公钥。私钥与基于主题的Avatar相关联,当公钥与私钥匹配时向客户端设备提供用户身份的有效性证书,以及将所述有效性证书的加密版本存储在存储器中。
12. 《Meta Patent | Selectively bonding light-emitting devices via a pulsed laser(Meta专利:通过脉冲激光选择性键合发光器件)》

在一个实施例中,专利描述的方法使用脉冲光子源来将半导体器件的电触点电耦合、结合和/或固定到另一半导体器件的电气触点。LED的全部或部分行电耦合、结合和/或固定到显示设备的背板。LED可以是μLED。脉冲光子源用于用扫描光子脉冲照射LED。EM辐射被表面、本体、基板、LED的电触点和/或背板的电触点吸收,以产生热能,而热能引起LED的电接触的电触点与背板的电接触之间的键合。选择光子脉冲的时间和空间分布,以及光子源的脉冲频率和扫描频率,以控制不利的热效应。
13. 《Meta Patent | Common anode micro-led system architecture(Meta专利:共阳极Micro LED系统架构)》

在一个实施例中,公共阳极Micro LED器件包括以小于20μm的间距为特征的共阳极Micro LED阵列,并且包括用于共阳极Micro LED的第一阵列的第一公共阳极,以及背板晶片。背板晶片包括像素驱动电路,像素驱动电路配置为通过共阳极Micro LED的阴极单独寻址共阳极Micro LED阵列的共阳极Micro LED。像素驱动电路中的每个像素驱动电路包括连接到第一共阳极Micro LED阵列的共阳极Micro LED的阴极的模拟电流驱动电路、用于存储像素数据的存储电路、以及配置为基于像素数据控制模拟电流驱动电路的时序控制电路。
14. 《Meta Patent | Sign language detection for smart glasses(Meta专利:智能眼镜的手语检测)》

在一个实施例中,专利描述了一种用于在沉浸式现实环境中结合语音识别的智能眼镜。智能眼镜包括安装在框架上的目镜,框架包括透明光学部件以向用户提供真实世界中的场景视图。智能眼镜同时包括配置为从现实世界中的对话者捕获手势的图像的第一摄像头,以及配置为在手势的图像中识别文本含义的处理器。
15. 《Meta Patent | Passthrough window object locator in an artificial reality system(Meta专利:人工现实系统中的透视窗口对象定位器)》

在一个实施例中,专利描述了一种帮助用户找到、定位和/或占有物体的人工现实系统。所述系统包括能够由用户佩戴的头戴式显示器;映射引擎,所述映射引擎配置为确定包括关于所述头显和物体的位置信息的物理环境的映射;以及应用程序引擎,应用程序引擎配置为:检测使用物体操作的应用程序的执行,确定所述物体不属于用户,并且响应于检测到应用程序的运行并确定物体不是属于用户,生成包括定位为包括所述物体的透视窗口的人工现实内容。
16. 《Meta Patent | Artificial reality system with multi-stage boot process(Meta专利:具有多级启动过程的人工现实系统)》

在一个实施例中,专利描述了用于提高人工现实系统的boot sequence的安全性的方法。所述方法包括由boot sequence系统基于从第一存储设备访问的配置信息来配置攻击检测电路;在配置所述攻击检测电路之后,由所述boot sequence系统启动信任根处理器以启动引导序列;使得所述信任根处理器能够在所述boot sequence期间访问存储在第二存储设备中的秘密信息。
17. 《Meta Patent | Lens assembly including path correction device(Meta专利:包括路径校正装置的透镜组件)》

在一个实施例中,专利描述的装置包括偏振非选择性部分反射器,其配置为透射第一光的第一部分并反射第一光的第二部分。所述装置同时包括偏振选择性反射器,偏振选择性反射器配置为将从偏振非选择性反射器接收的第一光的第一部分反射回偏振非选择性部分反射器。所述装置同时包括路径校正装置,路径校正装置设置在偏振非选择性部分反射器和偏振选择性反射器之间,并且配置为向前引导在偏振非选择部分反射器和偏振选择性反射器之间传播的第一光的第一部分。
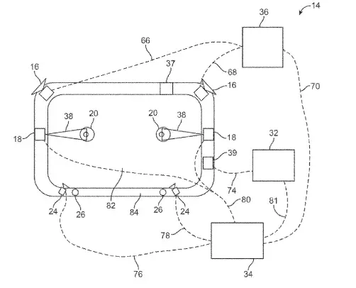
18. 《Meta Patent | Head-mounted display assemblies for interpupillary distance adjustments(Meta专利:用于瞳孔间距调整的头戴式显示器组件)》

在一个实施例中,头戴式显示器组件可包括第一眼罩和第二眼罩,所述第一眼罩和所述第二眼罩配置用于当佩戴所述头戴式显示组件时将第一透镜和第二透镜分别定位在用户眼睛的预定位置的前方。第一眼罩和第二眼罩可以相对于彼此移动,以调节用户眼睛的瞳孔间距离。单个近眼显示屏可以配置用于通过第一和第二眼罩向用户显示图像。单个近眼显示屏的外壳可以包括位于第一透镜和单个近眼显示屏幕之间的第一透明部件和位于第二透镜和单个近眼显示屏幕间的第二透明部件。
19. 《Meta Patent | Lightguide based illuminator for reflective display panel(Meta专利:用于反射显示面板的基于光导的照明器)》

在一个实施例中,当照明器配置为引导从与显示面板相对的一侧离开光导的泄漏光束,与由来自显示面板的照明光束的反射形成的图像光不平行地传播时,用于反射显示面板的透视照明器可以提供更好的图像对比度。物镜可以将图像光束和泄漏光束集中在不同的位置,使得放置在图像光束的位置处的用户眼睛能够在不受泄漏光束干扰的情况下看到投影图像。
20. 《Meta Patent | Polarization-based processing of unpolarized image light(Meta专利:基于偏振的非偏振图像光处理)》

在一个实施例中,专利描述的显示系统包括非偏振图像光的源,以及偏振选择光学元件的堆叠,其可操作以将非偏振图像光线转换成两个正交偏振光束,每个正交偏振光束在至少一个光束特性上可切换。输出偏振器选择两个正交偏振光束中的一个以提供给用户。去极化器可以设置在发射偏振光的电子显示器和叠层之间。去极化器可以是具有随机化平面内光轴的LC双层的形式。
21. 《Meta Patent | Microphone port architecture for mitigating wind noise(Meta专利:用于减轻风噪的麦克风端口架构)》

在一个实施例中,专利描述了一种包括设计用于减轻风噪的端口结构的声学传感器。所述声传感器包括主波导,主波导具有通向声传感器周围的局部区域的两个端口。副波导的一个开口耦合到主波导的一部分,副波导的另一开口耦合到麦克风。副波导具有比主波导更小的横截面。因此,气流从主波导的一个端口被引导到主波导的另一个端口,并绕过麦克风返回到局部区域。
22. 《Meta Patent | Augmented-reality game overlays in video communications(Meta专利:视频通信中的增强现实游戏叠加)》

在一个实施例中,专利描述的方法包括由第一用户的客户端系统呈现包括多个层的显示界面,其中第一层是包含增强现实叠加中的第一游戏的游戏容器,并且其中视频通信可经由显示界面访问;接收来自所述第一用户的输入,以经由所述显示接口在所述显示界面的第一层内发起与第二用户的视频通信;在所述显示器界面的第二层中生成视频容器;以及将第一层叠加在第二层上。
23. 《Microsoft Patent | Systems and methods for structured light depth computation using single photon avalanche diodes(微软专利:使用单光子雪崩二极管进行结构光深度计算的系统和方法)》

在一个实施例中,专利描述了一种使用单光子雪崩二极管SPAD进行结构光深度计算的系统。所述系统可配置为在帧捕获时间段内选择性地激活照明器,以执行交错结构光照明操作。交错结构光照明操作包括从照明器交替地发射至少第一结构光图案,和从照明器发射至少第二结构光图案。系统同时可配置为在帧捕获时间段内执行多个顺序快门操作,以配置SPAD阵列的每个SPAD像素,从而启用光子检测。对于SPAD阵列的每个SPAD像素,所述多个顺序快门操作生成多个二进制计数,所述二进制计数指示在所述多个中的每个顺序快门操作期间是否检测到光子。
24. 《Apple Patent | Skin-to-skin contact detection(苹果专利:皮肤接触检测)》

在一个实施例中,可以检测第一身体部位和第二身体部位之间的接触或移动手势。感测电路可以配置为响应于施加到驱动电极的驱动信号来感测感测电极处的信号。处理电路可以配置为根据满足一个或多个标准的确定来检测接触。处理电路可以配置为根据满足一个或多个标准的确定来检测移动手势。
25. 《Apple Patent | Video encoding system(苹果专利:视频编码系统)》

在一个实施例中,专利描述了一种像素数据在编码之前分解成频带的视频编码系统。频带组织成块,块提供给基于块的编码器。编码后的频率数据分组并发送到接收设备。在接收设备,对编码数据进行解码以恢复频带。然后在频带执行小波合成以重构用于显示的像素数据。系统可以使用一个或多个编码器对帧的部分进行编码,并且在编码部分准备好时发送编码部分。预滤波器组件可以在小波变换之前对像素数据执行透镜扭曲。
26. 《Apple Patent | Devices, methods, and graphical user interfaces for interacting with virtual objects using hand gestures(苹果专利:使用手势与虚拟对象交互的设备、方法和图形用户界面)》

在一个实施例中,专利描述了用于使用手势导航内容的方法和用户界面。在一个实施例中,专利描述了用于使用手势来执行各种操作的方法和用户界面。在一个实施例中,专利描述了用于激活虚拟对象的方法和用户界面。在一个实施例中,专利描述了用于显示信息的方法和用户界面。在一个实施例中,专利描述了用于操纵虚拟对象的显示的方法和用户界面。
27. 《Apple Patent | Method and device for surfacing a virtual object corresponding to an electronic message(苹果专利:用于呈现与电子消息相对应的虚拟对象的方法和设备)》

在一个实施例中,专利描述了一种用于呈现与电子消息相对应的XR对象的方法。所述方法包括:从发送者处获得电子消息;响应于确定所述电子消息与真实世界对象相关联,确定物理环境的当前视场是否包括所述真实世界对象;以及根据物理环境的当前视场包括真实世界对象的确定,经由显示设备呈现对应于与真实世界对象相关联的电子消息的扩展现实对象。
28. 《Apple Patent | Head-mountable devices with modular assemblies for fit adjustment(苹果专利:通过模块化组件调整贴合度的头戴式设备)》

在一个实施例中,头戴式设备可以包括当组装在一起时提供提盒调节能力的模块。通过提供具有模块化特征的头戴式设备,可以提供贴合调节能力,而不需要其他模块定制设计或以各种尺寸和/或形状提供。例如,提供用户面部的接合并透射来自显示元件的光的Light Seal模块可以耦合到头显模块。将Light Seal耦合到头显模块的耦合模块可以以各种各样的尺寸和/或形状提供,以允许用户选择合适的一个来优化头显模块对准。
29. 《Sony Patent | Display apparatus(索尼专利:显示装置)》

在一个实施例中,专利描述的显示装置包括图像显示元件;准直从图像显示单元发射的光的准直光学系统;以及导光板。显示装置进一步包括设置在导光板上的多个第二光学元件。
30. 《Sony Patent | Image processing system and method(索尼专利:图像处理系统和方法)》

在一个实施例中,专利描述的图像处理系统包括可操作用于使用灵活比例光栅化FSR来渲染多个纹理中的一个或更多个的渲染单元;用于产生指示用于渲染对应纹理的FSR的一个或者更多个属性的元数据的元数据生成单元;操作以读取所述元数据,并修改着色器以使得能够执行纹理采样的着色器编译器,所述纹理采样包括FSR解析,其中所述元数据指示对应纹理已经用FSR渲染;以及图像生成单元,所述图像生成单元可操作以使用至少一个修改的着色器生成用于显示的图像,所生成的图像包括所述多个纹理中的一个或多个。
31. 《Sony Patent | Image processing system and method(索尼专利:图像处理系统和方法)》

在一个实施例中,专利描述的图像处理系统包括可操作用于使用灵活比例光栅化FSR来渲染多个纹理中的一个或更多个的渲染单元;用于产生指示用于渲染对应纹理的FSR的一个或者更多个属性的元数据的元数据生成单元;操作以读取所述元数据,并修改着色器以使得能够执行纹理采样的着色器编译器,所述纹理采样包括FSR解析,其中所述元数据指示对应纹理已经用FSR渲染;以及图像生成单元,所述图像生成单元可操作以使用至少一个修改的着色器生成用于显示的图像,所生成的图像包括所述多个纹理中的一个或多个。
32. 《Sony Patent | Information processing apparatus, information processing method, and program(索尼专利:信息处理设备、信息处理方法和程序)》

在一个实施例中,专利描述的信息处理设备包括:将预定对象投影到虚拟空间中的二维平面上的第一图像处理单元;以及第二图像处理单元,其在虚拟空间中不是二维平面的位置处渲染与预定对象相关的三维模型。其中,第一图像处理单元的第一渲染状态和第二图像处理器的第二渲染状态可切换。
33. 《Sony Patent | Display control program, dislay control apparatus and display control method(索尼专利:显示控制程序、显示控制装置和显示控制方法)》

在一个实施例中,专利描述的方法包括:获取指示头戴式显示器的位置的信息;获取指示输入设备位置的信息以供用户使用;获取指示在所述输入设备中输入的指令的信息;以及生成将在视点位置和视线方向上显示在头戴式显示器上的虚拟三维空间的图像,并且其中所述生成包括生成对象的图像。
34. 《Sony Patent | Scaled vr engagement and views in an e-sports event(索尼专利:电子竞技活动中的缩放VR参与和视图)》

在一个实施例中,专利描述的方法旨在提供电竞赛事的按比例参与和视图。首先从现场电子竞技赛事中收集信息。然后对收集到的信息进行处理,以便生成关于现场电子竞技赛事中玩家的详细统计信息。使用所收集的信息,生成关于现场电子竞技事件的电子竞技事件显示。然后使用生成的详细统计信息修改电子竞技事件显示。修改后的电子竞技事件显示随后分发以供远程观看者观看。其中,修改后的电竞事件显示是特定于远程观看者。
35. 《Samsung Patent | Beam expander and method of operating the same(三星专利:扩束器及其操作方法)》

在一个实施例中,专利描述的扩束器包括彼此间隔开的第一光学元件和第二光学元件,以及具有使入射光扩散通过角孔径的角孔径的光漫射器,其中,所述第一光学元件内耦合所述漫射光,使得从所述第一光元件出射的光具有第一截面形状,并且具有不同于所述第一截面形状的第二截面形状的光入射在所述第二光学元件,同时所述第二光学元件耦出从所述第一光学元件入射的光。
36. 《Samsung Patent | Complex light modulator, holographic display device, and see-through display device(三星专利:复合光调制器、全息显示设备、透视显示设备)》

在一个实施例中,专利描述的复合光调制器包括第一偏振板、第二偏振板、设置在第一偏振板和第二偏振板之间的幅度调制器、设置在幅度调制器和第二偏振板之间的相位调制器、以及设置在幅度调制器和相位调制器之间的滤色器。
37. 《Samsung Patent | Method and apparatus with object motion transfer(三星专利:具有对象运动转移的方法和装置)》

在一个实施例中,专利描述了一种将源空间中的对象运动转移到目标空间的装置。所述装置基于定位对象的源空间的特征点和表示对象的目标空间的特征点,定义从源空间到目标空间的映射函数;基于所述映射函数确定与所述对象的根位置相对应的目标根位置;基于所述映射函数确定与所述对象的方向相对应的目标方向;基于所述映射函数确定与所述对象的主关节相对应的目标主关节;基于所述对象的唯一关节信息,在所述目标空间中确定排除所述目标主关节的目标子关节;并且通过修改对象在目标空间中的姿势以匹配目标主关节来生成表示对象在目标太空中的运动的数据。
38. 《Samsung Patent | Method and device for synchronizing device settings(三星专利:同步设备设置的方法和设备)》

在一个实施例中,专利描述了虚拟环境的终端和真实空间的终端之间同步设备信息的方法。服务器的操作方法包括从第一终端接收注册设备信息的请求,基于设备匹配信息在元宇宙中获得与第一终端相对应的第二终端的设备信息,以及基于第二终端设备信息确定第一终端的设备信息,其中基于所述第一终端和所述第二终端的固有属性来确定所述设备匹配信息。
39. 《Samsung Patent | Image processing apparatus and method(三星专利:图像处理装置和方法)》

在一个实施例中,专利描述的图像处理方法和装置包括:获得用于近眼显示装置的多个输入光学图像和多个输出光学图像;通过使用包括所获得的输入和输出光学图像的训练集来训练用于对波导光学系统建模的神经网络;以及获得要输入到训练的神经网络的均匀性校正图像,使得训练的神经神经网络然后输出具有一定亮度均匀性的目标均匀性图像。
40. 《Samsung Patent | Method and electronic device for displaying augmented reality content based on ambient illuminance(三星专利:基于环境照度显示增强现实内容的方法和电子设备)》

在一个实施例中,专利描述的电子设备包括:传感器模块、包括主显示器和子显示器的显示模块、配置为存储计算机可执行指令的存储器、以及配置为通过访问存储器来执行指令的处理器,从而使得所述处理器:识别通过所述主显示器显示的至少一个真实对象,从所识别的所述至少一个实际对象中选择一个实际物体作为目标对象,控制所述传感器模块测量所述电子设备的环境照度,基于所述电子装置的环境照度确定所述电子器件的可见度水平,以及基于所确定的可见性水平在主显示器或子显示器显示与所选择的目标对象相对应的至少一种增强现实内容。
41. 《Google Patent | Determining display gazability and placement of virtual try-on glasses using optometric measurements(谷歌专利:使用验光测量确定虚拟试穿眼镜的显示效果和位置)》

在一个实施例中,专利描述的方法包括接收人的面部图像和透镜测量值,以及从多个框架的三维模型中选择一副智能眼镜的框架的3D模型。这副智能眼镜包括嵌入或覆盖在镜片上的虚拟显示器。所述方法还包括基于人的透镜测量来确定3D模型的大小,以及确定虚拟显示器的可视性。
42. 《Google Patent | Validation of modeling and simulation of virtual try-on of wearable device(谷歌专利:可穿戴设备虚拟试穿建模与仿真验证)》

在一个实施例中,专利描述了用于验证建模和仿真系统的系统和方法。所述建模和仿真系统提供用户对诸如眼镜之类的可穿戴设备的虚拟试穿,以及为用户对所选可穿戴设备进行虚拟装配。可从捕捉用户佩戴的可佩戴设备的图像数据中检测可佩戴测量、显示器佩戴测量、眼科佩戴测量和与可佩戴设备佩戴和功能相关联的其他此类测量。检测到的测量值可以与在用户佩戴可穿戴设备的虚拟模拟中检测到的对应测量值进行比较。所述比较可以提供建模和仿真系统的验证和提高的准确性/真实性。
43. 《Google Patent | Triggering a collaborative augmented reality environment using an ultrasound signal(谷歌专利:使用超声波信号触发协作增强现实环境)》

在一个实施例中,专利描述了一种用于共享协作增强现实环境的方法,所述方法包括通过第一计算系统的传感器系统获得表示AR环境的物理空间的视觉数据,其中视觉数据用于创建物理空间的3D地图。3D地图包括具有由第一计算系统的用户添加的至少一个虚拟对象的坐标空间。所述方法包括通过第一计算系统上的换能器广播超声信号,其中超声信号包括与3D地图相关联的标识符。标识符配置为由第二计算系统检测以加入AR环境。
44. 《Google Patent | Validation of modeling and simulation of virtual try-on of wearable device(谷歌专利:可穿戴设备虚拟试穿建模与仿真验证)》

在一个实施例中,专利描述了用于验证建模和仿真系统的系统和方法。所述建模和仿真系统提供用户对诸如眼镜之类的可穿戴设备的虚拟试穿,以及为用户对所选可穿戴设备进行虚拟装配。可从捕捉用户佩戴的可佩戴设备的图像数据中检测可佩戴测量、显示器佩戴测量、眼科佩戴测量和与可佩戴设备佩戴和功能相关联的其他此类测量。检测到的测量值可以与在用户佩戴可穿戴设备的虚拟模拟中检测到的对应测量值进行比较。所述比较可以提供建模和仿真系统的验证和提高的准确性/真实性。
45. 《Qualcomm Patent | Power saving for extended reality (xr) communication(高通专利:扩展现实通信节能)》

在一个实施例中,专利描述了了与节能相关的无线通信方法。所述方法包括在连接模式下接收基于无线通信设备的数据流量的配置。所述配置指示:与无线通信设备第一组操作参数相关联的第一区域;以及与所述无线通信设备的第二组操作参数相关联的第二区域,所述第二组工作参数不同于所述第一组工作参数;利用所述第一组操作参数在所述第一区域中操作以监视第一下行链路通信信号;以及在具有第二组操作参数的第二区域中操作。
46. 《Snap Patent | Eyewear projector brightness control(Snap专利:眼镜投影仪亮度控制)》

在一个实施例种,专利描述了包括投影仪的眼镜,投影仪具有控制输送到彩色光源的正向电流的可变反馈回路。彩色光源配置为生成彩色光束以生成显示图像。在一个示例中,可变反馈回路具有可变电阻,以在眼镜在外部操作时或在高环境光设置下选择性地生成高亮度图像,并且在眼镜在内部操作时选择性地生成标称亮度图像。控制器选择性地控制输送到彩色光源的驱动电流,以控制图像的亮度模式。
47. 《Snap Patent | Optical device for augmented reality display(Snap专利:用于增强现实显示的光学设备)》

在一个实施例中,专利描述了一种用于控制增强现实显示器中的光的光学设备。光学设备包括波导和衍射光学元件。衍射光学元件包括结构化光栅元件的阵列。结构化光栅元件基于重复的unit cel来布置,每个unit cel包括限定不规则光栅结构的至少两个光栅元件,使得衍射光学元件产生不对称衍射响应。
48. 《Snap Patent | Eyewear device charging case(Snap专利:眼戴设备充电盒)》

在一个实施例中,用于电子眼镜设备的便携盒具有充电触点,充电触点可相对于眼镜设备可接收的存储室移动。充电触点通过充电触点与眼镜设备的相应接触结构的接触耦合而连接到用于壳体所携带的电池。
49. 《Lumus Patent | Method of fabrication of compound light-guide optical elements(Lumus专利:复合光导光学元件的制造方法)》

在一个实施例中,将多个LOE前体和其间交替的多个透明隔板的结合堆叠结合到具有多个相互平行的倾斜内表面的第一光学块。将光学块连接到堆叠,使得光学块的第一多个部分反射内表面不平行于LOE前体的内表面。在接合之后,由此形成第二光学器件。通过穿过夹有LOE前体的至少两个连续间隔板切割第二光学块,从第二光学块切出至少一种化合物LOE。
50. 《Lumus Patent | Fov expansion device for use in a near-eye display(Lumus专利:用于近眼显示器的视场扩展设备)》

在一个实施例中,用于近眼显示器的视场扩展设备包括第一表面,第一表面接收来自近眼显示器离开的投影仪的入射照明。入射照明可以由多个入射照明场组成。扩展设备与非顺序(NS)光学元件相邻,非顺序光学元件将输出光投射到用户。所述器件的折射率大于NS光学元件的折射率。视场扩展设备的第一表面在一个实施例中是透明的,而在另一个实施方案中是反射的。
51. 《Vuzix Patent | Hands-free communication and automated billing system and method(Vuzix专利:免手操作通信和自动计费系统及方法)》

在一个实施例中,专利描述了一种实时通信的方法,所述方法包括提供与网络进行信号通信的第一电子通信设备,其中第一电子通信装置包括处理单元。所述方法包括提供与网络信号通信的第二电子通信设备。然后,启动所述第一和第二电子通信设备之间的通信会话,跟踪所述通信会话的持续时间,并结束所述第一通信设备和第二通信设备之间所述的通信会话。根据通信会话的持续时间生成计费数据,并自动将计费数据发送到计费机构。
---
原文链接:https://news.nweon.com/111474