如果以设计手机镜头的材料和思路,设计一款适用于更大画幅的镜头是否可行?
我先说一下在紧凑式相机模组中(例如手机),比较有代表性的方面有两点:非球面和树脂镜片。
非球面的优劣:
对于短后焦的镜组来说,非球面在矫正畸变和慧差方面的能力有助于简化光学系统结构,从而实现更小的 Z 轴高度占用。

但是,大量依赖非球面镜片(尤其是面型复杂的)来矫正像差,会使得在设计时的计算更加复杂,同时也对镜组装配和制造精度有更高要求。
树脂镜片的优劣:
树脂镜片最大优势是在使用非球面等复杂面型的时候模造的树脂镜片容易量产(树脂本身其实也不算便宜,但是制造成本更优)。本质上还是成本和出货量上优势。
树脂镜片的主要劣势(除了温度敏感和寿命以外)并不在光学性能上,更多的是工程问题:例如阿贝数和折射率选择没有玻璃丰富 。——这会限制光学设计的自由度——例如因为很难找到合适阿贝数的树脂材料来消除色散,所以只能想别的办法来解决。另一点是物理性能难以承受多层镀膜。

但是,一旦基于树脂镜片的光学设计确定下来,那么换用玻璃不一定能提升画质。因为在镜组设计中,每一片镜片的光学性能是相互耦合的,更换材料反倒会导致镜组性能劣化。
有答主建议相机镜头应该向手机镜组学习镀膜技术,其实在实操上反而是不可行的:因为树脂镜片和玻璃镜片的物理性能差异(表面附着力,温度敏感性等),导致为光学树脂设计的镀膜工艺难以应用在玻璃上。
所以,单看性能上来说,针对手机应用设计的镜组并不是最优解,还是充满了对成本和量产性的妥协。或者说,树脂提升了非球面镜组实际性能下限,而不是上限。
但我认为“借鉴”手机光学系统的思路和材料,应用在更大尺寸光学系统上仍然是有意义的(尤其是非球面)。或者换个角度说,在有限的体积内实现最优画质的目标下,设计发生趋同演化是难以避免的。
因为即使相机镜头对体积限制要比手机宽松很多,但是这并不代表为了追求画质,体积可以无限膨胀,而且,在相同体积下实现更优秀的画质不也是好事么?
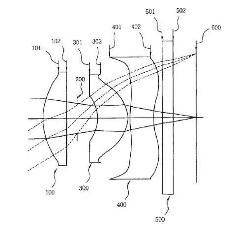
其实随着相机算力的提升以及对镜组的画质要求越来越高,我们的确看到一些短后焦的镜组设计看上去开始像手机镜头——例如图四中最后两片非球面(全画幅最后两片尺寸最大的都敢给非球,只能说蔡司艺高人胆大且有钱任性)。



再比如佳能的 RF28mm F2.8 STM(图六),和手机等效焦距一样,和手机光圈一样和手机设计目标还近似(锐度优先级高,且要小型化),自然就像极了手机设计。



看不上以手机为代表的紧凑式光学设计,宁可放弃性能也要为了和手机不一样而不一样才是没有意义的。
原回答:https://www.zhihu.com/question/583896080/answer/2932064937

