你可能不了解的列尾装置【2】(货列尾装置)【上篇】

大家吼啊!第二期本来是想一次性写完的,但是写文案的时候发现越写越多( ˃̶̤́ ꒳ ˂̶̤̀ )只好分成上下两篇发布,上半部分主要讲解货列尾装置的工作原理、构造、传输、附属设备感兴趣的朋友请持续关注!
第一期的链接在这里~https://b23.tv/CQYfpT
1.货列尾装置的工作原理
货物列车尾部安全防护装置简称“货列尾装置”,用于货车取消守车后替代守车工作。货列尾主机挂在货物列车尾部并且连接制动软管,由机车向列尾装置发送查询风压的无线指令或者排风、消号、输号指令,列尾装置收到指令后回复相应的风压信息或动作。如果在山区隧道信号传输不良的条件下,列车中间可加装列尾中继器辅助传输。

2.货列尾装置的大体构造及传输
1、货列尾装置的种类
货列尾装置大体分为两类,提钩杆型和钩头锁型。提钩杆型就是固定在提钩杆上的列尾装置,利用提钩杆销卡在列车尾部的提钩杆上。


钩头锁型是利用车钩上的凹槽来固定列尾装置的,利用机械爪卡住钩头凹槽实现固定。


2、货列尾装置大体结构
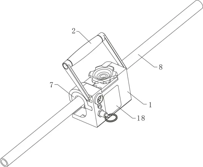
外部大体构造如图,以中铁公司ZTF-2012G钩头锁型数字双模列尾为例

数码显示屏用于夜间防护和显示列尾状态信息、GPRS天线用于无线定位、主机编号用于连接列尾识别厂家和管理、400M天线用于传输信息和控制列尾、风管用于连接尾部制动软管,其他都是字面意思自行理解。
内部由信道机(用于传输信息)、风压检测模块、电磁阀、控制模块、电源模块构成。
3、货列尾装置的具体分类以及传输方式
按照机车号格式分为两类,4位机车号列尾和8位机车号列尾。
四位机车号列尾是只能输入四位数机车号的列尾装置,如DF4B3536 只能吧3536输入到列尾装置内。
八位机车号列尾是可以把机车具体型号输入到列尾装置内,如HXD3C机车代码为239,那HXD3C0149转换为八位机车号就是23900149。这样它就是唯一的机车号,可以避免机车号重号的情况发生。
货列尾装置具体分为六类:
1.模拟列尾:利用模拟信号传输的列尾装置
2.数字列尾:利用DMR(CSBK)数字信号传输的列尾装置
3.双模列尾:利用模拟+数字(包括GSM-R)传输的列尾装置
4.可控列尾:可实现于机车同步排风制动的列尾装置
5.G网列尾:利用GSM-R传输的列尾装置
6.感应列尾:利用400KHz感应信号传输的列尾装置
以上列尾装置的传输频段及调制方式:
模拟列尾:450MHz或800MHz 调制方式:(FFSK)或(DTMF)
数字列尾:(DMR)400MHz 调制方式:(CSBK)
双模列尾:DMR400MHz+450MHz或DMR400MHz+800MHz/DMR400MHz+GSM-R 调制方式:(CSBK)(FFSK)(UDP)
可控列尾:GSM-R或GSM-R+400KHz 调制方式:(UDP)
G网列尾:GSM-R 800MHz~900MHz调制方式:(UDP)
感应列尾:400KHz+450MHz或DMR400MHz+400KHz/GSM-R+400KHz调制方式:(FFSK)(CSBK)(UDP)
双模列尾和感应列尾根据需要组合频段和传输方式。
3.货列尾装置附属设备
货列尾装置附属设备分为车载设备和专用运维设备。
1、车载设备
车载设备是机车车辆上使用的附属设备,主要由以下设备组成。
列尾控制盒
由内部控制电路板、操作按键、内置扬声器、显示器等组成,与车载列尾电台相连安装在司机室内。
主要功能:查询列尾风压、排风及接收列尾主机传输回的风压信息、输号和消号、电台故障告警、司机操作记录储存。

列尾机车电台
由一个信道机、电源、控制单元、GPRS模块、天线、数据储存模块等组成,固定在机械间三方设备柜内。与列尾控制盒连接,负责发送与接收列尾信息(G网列尾需加模块)GPRS定位等。

列尾中继器
由信道机、天线、控制与储存单元、显示单元、接口单元、充电电池等组成。
列尾中继器用于解决在多隧道和山区地区的列车首尾无线信号传输的弱场问题,列尾中继器安装在列车的中后部,保证列车尾部信息传输的可靠性。

2、专用运维设备
列尾确认仪
一般由手台加装选键板改造而成,用于将机车号和列尾号输入列尾主机或列尾中继器,从而提前建立机车与列尾主机的一对一关系,同事兼有监听列尾主机信息的功能。

列尾主机检测台
列尾主机测试台作为辅助设备,为列尾主机提供电源和风源,并模拟车载综合电台列尾控制盒对列尾主机进行测试、确认、查询、排风操作、检查列尾主机风压反馈精度和功能。

列尾检测仪(假货列尾)
由手台加装选键板改造而成,用于检测列尾控制盒与列尾确认仪的各项功能。它就相当于个 “假”货列尾装置,回复相应的列尾信息。

列尾控制盒输号仪
用于给机车列尾控制盒输入机车号

列尾主机电池
用于给列尾主机供电和断电,内置有开关与数据接口。

列尾装置数据采集器
用于采集列尾装置内部查询信息记录,一般用于事故后追责分析。
好了!货列装置的上半部分介绍完了~下半部分主要介绍货列尾装置的发展历程和运用现状,包括双模列尾、G网列尾、可控列尾与感应列尾。感兴趣的朋友请持续关注!感谢阅读~