谷歌专利提出AR/MR显示波导断裂安全系统的激光能量积分器
查看引用/信息源请点击:映维网Nweon
监控是否存在波导破损、裂缝、超过安全限制的光发射等情况的出现
(映维网Nweon 2023年08月24日)当通过头戴式显示器显示图像时,将过多的光能指向用户眼睛可能会导致眼睛不适或伤害。所以,一般会通过安全指南来设置了光能阈值。这种阈值通常规定了能量限制和阈值时间。
由于头戴式显示器在将光源的光传输到用户的眼睛方面存在一定的效率低下,光源通常输出大量的光来补偿系统的光损失,以确保向用户显示足够明亮的图像。因此,如果头显的波导断裂,特别是在光进入波导的附近,用户可能暴露在超过光能限制的环境之中。
为了检测波导破损,并将用户和/或旁观者暴露于潜在有害光水平的风险降至最低,谷歌在名为 “Laser energy integrator for display waveguide breakage safety system”的专利申请中提出了用于显示波导断裂安全系统的激光能量积分器,从而允许监控是否存在波导断裂等情况的出现。

图1示出了包含发明所述的安全系统的示例性显示系统100。
为了确保用户舒适性和可穿戴性,需要将显示系统100的重量和尺寸最小化,所以光学组合器102通常设计得非常薄,所以容易破裂或断裂。因此,显示系统可以包括一个安全系统,并使用电气监控组件来测量投影仪中每个激光二极管的电压,或者使用光电二极管来测量每个激光二极管投射的光强度。
在一个实施例中,响应于确定显示波导的破损、裂缝、超过安全限制的光发射或其他,安全系统停用投影仪。

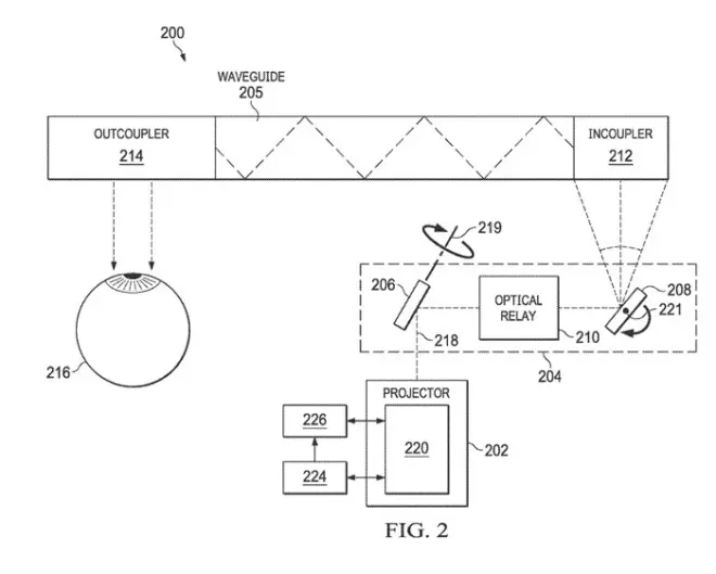
图2示出了投影系统200。投影系统200包括投影仪202、光学扫描仪204和波导205。光学扫描仪204包括第一扫描镜206、第二扫描镜208和光学继电器210。波导205包括耦入器212和耦出器214,其中耦出器214与用户的眼睛216光学对齐。
投影仪202包括一个或多个激光光源,激光光源配置成产生和输出激光218。投影仪202耦合到控制器226,控制器226根据指令控制来自投影仪202的激光发射时间和激光强度,以调制激光218,使其在输出到用户眼睛216的视网膜时可感知为图像。所述投影仪202与上述安全系统220耦合,以监测所发射激光的能量。
在投影系统200的操作期间,由投影仪202的激光光源输出分别具有不同波长的多个激光光束,然后通过光束组合器组合(未示出),然后引导到用户的眼睛216。投影仪202调制激光光束的各自强度,并且包括发射特定颜色的激光218的各种边缘发射激光器。
光学扫描仪204的第一和第二扫描镜206和208中的一个或两个是MEMS反射镜。在投影系统200的主动操作期间,由各自的驱动电压驱动其振荡,从而导致第一和第二扫描镜206和208扫描激光218。
为了便于对进入用户或旁观者眼睛的光进行安全监测,安全系统220包括能量监测组件(未示出),例如光电二极管或电流监测组件,其配置为测量从投影仪的每个激光二极管投射的光或测量每个激光二极管的电压或电流。
将安全系统220收集的信息提供给安全处理器224,以确定在预定时间段内由7毫米光瞳收集的能量总量是否超过安全阈值。换句话说,安全处理器224接收在预定时间(例如100秒)内从安全系统220收集的代表光强度的测量值,并将测量值的运行总数与第一阈值进行比较。
如果在预定时间内的任何时间测量的总光能超过阈值,则安全处理器224向投影仪202提供信号,传达关闭投影仪202的指令,以防止对用户或旁观者的潜在伤害。
在一个实施例中,安全系统220将测量的运行总数与小于第一阈值的第二阈值进行比较,以便如果系统接近超过第一阈值,安全系统向控制器226发送信号,然后可以降低从投影仪202发出的光的峰值强度或改变投影图像的内容,以避免超过第一阈值。

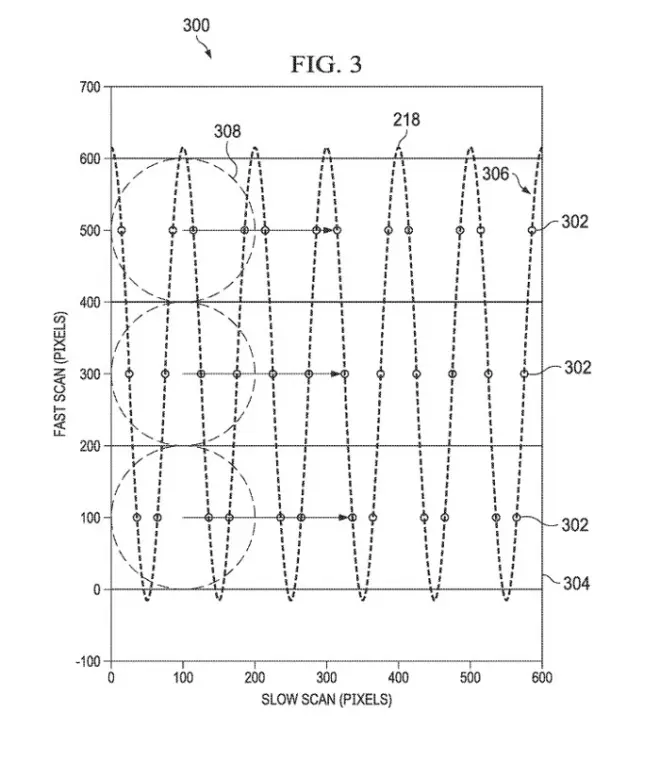
图3示出诸如投影系统200的投影系统的示例光扫描图案300,其采样点302将由安全系统220测量。
如上所述,来自投影系统200的光218从投影仪202提供给扫描组件以形成图像帧304,然后由波导的各种组件(传送、扩展和输出。扫描图案300显示从投影仪202发射的光218作为图像帧304内场位置的函数。采样点302表示安全系统220收集测量值的位置。
在图3中,对每条扫描线在每个采样点302进行三次测量。安全系统220配置成在采样点302对特定带宽的光进行采样,使得每次测量实际上是对扫描线的某一部分进行低通滤波测量,并且表示间隔的近似时间平均值。
光瞳面积308代表在框架304内的任何给定位置由给定尺寸的光瞳收集的潜在光。对于每个图像帧304,添加测量以确定在波导205损坏的情况下,光瞳可以收集的最大光,并由光瞳面积308表示。

图4示出了采用安全系统来监控来自投影系统,以防止光能输出超过安全阈值的方法400。
在402,选择一种波长的光,安全系统220将对其进行测量,例如,波长约为450纳米的蓝光。
在404,在图像帧304内的采样点302收集所选带宽的光输出测量值。
在406,然后,通过估计在各个光瞳区域308测量的最高可能能量来估计最坏情况。
在408,通过将给定光瞳面积所包围的所有采样点302的测量能量相加,然后用最高总能量确定光瞳面积308来计算估计的最高能量。然后将最高总能量提供给安全处理器224。
在410,对已采样的图像帧304的最高能量的累积总和与一个阈值进行比较,如果发现累积总和超过阈值,安全处理器224在412向控制器226发送一个信号,从而减少投影仪202的功率输出。
在一个实施例中,控制器226通过降低投影光218的强度或通过调整投影内容来降低投影仪202的功率输出。为了防止用户简单地关闭投影系统200,然后在投影仪功率输出减少时再次打开,通过投影系统200的功率循环保留累积总数。
如果累积总数不超过阈值,则在414确定是否已达到预定采样时间。如果时间T没有达到,安全系统220继续对图像进行测量,并将最高的能量估计值加到累计总量中。如果达到时间T,系统移动到下一个图像帧,以便开始一个新的监控周期。

图5示出了采用安全系统监控来自投影系统的光输出,以便在超过安全阈值时关闭投影仪202的方法500。
在502,选择安全系统220将进行测量的光带宽。
在504,在图像帧304内的采样点302收集所选带宽的光输出测量。
在506,通过估算各个光瞳区域308的最高可能能量来估计最坏情况。在一个实施例中,通过将给定光瞳面积所包围的所有采样点302的测量能量相加,然后确定具有最高总能量的光瞳面积来计算估计的最高能量。
在508,将每个图像帧304的最高总能量提供安全处理器224。
在510,将已采样的图像帧304的最高能量的累积总数与阈值进行比较,并且,在发现累积总数超过阈值的情况下,安全处理器224向投影仪202发送信号,在512传达关闭和停止发光的指令。
为了防止用户在投影仪关闭时简单地重新打开投影系统200,通过投影系统200的电源循环来保留累积总数。
如果累积总数不超过阈值,则在514处确定是否已达到预定采样时间。如果没有达到时间T,系统继续测量图像帧304,并将最高的能量估计添加到累积总数中。如果达到时间T,系统移动到下一个图像帧,开始一个新的监控周期。
相关专利:Google Patent | Laser energy integrator for display waveguide breakage safety system
https://patent.nweon.com/29442
名为“ Laser energy integrator for display waveguide breakage safety system”的谷歌专利申请最初在2022年11月提交,并在日前由美国专利商标局公布。
---
原文链接:https://news.nweon.com/111910

