Loona宠物机器人的知识产权风波


2022年9月16日,国内机器人厂商可以科技的新品Loona低调在kickstarter开启众筹,仅用3小时就众筹了超过1000套。截止11月1日众筹结束,Loona实现众筹总额超300万美元,成为Kickstarter消费机器人历史众筹第一。
但是关注Loona的朋友会发现,Loona众筹快结束时突然被下架了,原因是涉及知识产权争议,可能侵犯了美国Digital Dream Labs公司 (简称“DDL”公司)的知识产权。但过了几天又恢复上架了,等到11月1日众筹结束之后,很快又被下架。这起起伏伏的背后有多少故事,恐怕只有当事人知道,不过我们可以分析一下Loona到底侵犯了DDL公司的哪些知识产权呢?

下面截取了Kickstarter官网发布的通告里面的主要内容。可以看出Loona主要是侵犯了DDL公司登记的版权。版权保护的是文学艺术作品,在这里就是机器人显示器的表情设计。一般来说版权的规避比专利权是容易许多的。
受版权保护的材料说明:受版权保护的材料部分受 2020 年 11 月 25 日星期三在 Reg 发布的两项美国注册版权保护。编号 PA 2-266-064 和 PA 2-266-065(可根据要求提供副本)。这些版权涵盖了Digital Dream Labs, LLC(“DDL”)拥有的两个交互式 Vector 和 Cozmo 机器人的“三维雕塑和视听作品”。受版权保护的材料包括 Vector和 Cozmo 机器人的头部、面部和眼睛的独特形状和设计,以及与机器人动作相关的图形/电子动画和声音。也可应要求提供两种版权登记押金的副本。
此外,Vector 和 Cozmo 机器人可以在这里看到:
https://www.digitaldreamlabs.com/ https://www.digitaldreamlabs.com/pages/meet-vector https://www.digitaldreamlabs.com/pages/meet -cozmo
Vector 和 Cozmo 是用于社交和帮助用户的机器人伴侣。Loona机器人大量复制了 Vector 和 Cozmo 的面部图形、动画和相关声音,与 Loona 视频或 Kickstarter 项目中出现的其他图形中描述的某些情绪或动作相关,包括但不限于唤醒、兴奋或快乐、悲伤、愤怒或沮丧、好奇,然后去睡觉。此外,Loona 的脸和眼睛的形状和设计复制了 Vector 和 Cozmo 的脸和眼睛的形状和设计。
下图是中国的可以科技的Loona机器人的高兴和生气的表情包。

下图是美国的DDL旗下的Vector机器人的高兴和生气的表情包。

下图是美国的DDL旗下的Cozmo 机器人的高兴和生气的表情包。

我们通过对比发现,可以科技的Loona机器人的高兴和生气的表情包和DDL旗下的两款机器人相比确实有点像,但也不完全一样,所以说目前是存在争议(dispute),而不是确定了侵权的结论(conclusion)。
下面再检索一下美国DDL公司的专利权,看看这次事件是不是涉及专利权的纠纷。
通过检索发现美国DDL公司一共5项相关的发明专利,其中4项是声学相关的算法处理技术,这种后台算法类的专利其实举证比较困难,更多是防御性的。即使可以科技的Loona机器人采用了一样的算法,也不太可能被举证侵权,除非可以科技把自己的源代码开源了。
美国DDL公司的这5项的发明专利都没有在中国布局,其中3项是2018年申请的,已经过了30个月的PCT优先权日期;另外两项是2020年申请的,虽然在30个月时间内,但是后台算法类专利本身属于防御性质的,因此在中国使用这些专利的风险比较小。





这里的第5项发明专利是“Goal-based robot animation”(基于目标的机器人动画)。有朋友说这项专利涉及机器人的动画表情,是不是和这次Loona侵权事件有关呢?
我简单地结合这个专利的附图解释一下这个专利到底讲了啥?
这个专利的背景问题如下:
人类动画师可以通过使用生成对动画运动进行编码的数据的软件来手动设计机器人动画。这个创建预生成动画的过程通常是费力且耗时的。在一些实施方式中,此类动画运动被编码为关键帧。例如,每个关键帧可以对特定组件的特定移动的时间戳、起点、终点和持续时间进行编码。例如,机器人可以通过执行指定这三个数据项的关键帧来实现从角度 A 到角度 B 的持续 1 秒的头部倾斜。假设动画团队在一周内生成了 4 个新的预生成动画。为了将这些动画集成到机器人的行为中,软件开发团队必须手动确定新的预生成动画应该在哪些场景中出现。在做出如此艰难的决定之后,软件开发团队必须在适当的地方修改源代码,在必要的地方添加新的案例语句,以便硬塞进新的预生成动画。
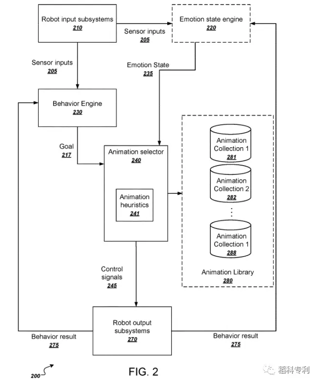
原本机器人的动画(包括机器人的动作和面部表情)是动画师设计和然后程序员修改代码慢慢调出来的,这个过程耗时耗力,而且只有几种固定的动画,显得机器人非常呆板。这个专利提出了一种新的方案,就是在机器人的存储器里面存放一个基础的动画库(下图中的Animation Library)。在机器人的传感器输入变量后,会有行为引擎和表情状态引擎输出一个目标值,然后动画选择器(Animal selector)会根据目标值从基础的动画库中进行选择,可以选择一种基础动画,也可以选择多个基础动画的组合,生成新的动画。

例如,眼睛305位于以位置7为中心的显示器的左下角。由行为引擎生成的目标状态指定眼睛的目标位置是右上角的位置3。
如果在基础的动画库里面,从位置7 开始的以下动画 5 个轨道可用:
眼睛移动7->1
眼睛移动7->3
眼睛移动7->4
眼睛移动7->8
眼睛移动7->9
只有从位置7 到位置 3 的过渡使眼睛靠近目标位置。因此,动画选择器会选择提供从位置7 到位置 3 的过渡的动画。
但是如果基础的动画库里面还有一个额外的动画轨迹:
眼睛移动7->2
那么动画选择器也可以选择这样的组合:
眼睛移动7->2
眼睛移动2->3

机器人的动画是基于目标状态的基础动画库的排列组合,而不是一个固定的程序,这样机器人得显得更加的灵动和有趣。在实现相同的动画效果的情况下,相比于传统的方式,开发人员的工作量更小,占用存贮器的空间也更小。
虽然第5项发明专利是“Goal-based robot animation”(基于目标的机器人动画)的算法看起来非常不错,但是也同样属于后台的处理算法,我也判断不了可以科技的Loona机器人是否有采用这样的动画生成算法。
因此Loona机器人的这次侵权事件应该还是版权方面的争议(dispute),和专利权没有太大关系。假如未来美国的法院判断Loona机器人确实侵犯了DLL公司的版权,可以科技也只需要重新设计脸部显示器的图案,对其供应链应该影响不大。当然,重新设计之后,Loona机器人的粉丝们喜不喜欢又是另一回事情了。