2023年08月05日美国专利局新申请AR/VR专利摘选
文章相关引用及参考:映维网Nweon
一共更新了56篇专利。
(映维网Nweon 2023年08月05日)近期美国专利及商标局公布了一批全新的AR/VR专利,以下是映维网的整理(详情请点击专利标题),一共56篇。更多专利披露请访问映维网专利板块https://patent.nweon.com/进行检索,你同时可以加入映维网AR/VR专利交流微信群(详见文末)。
1. 《Magic Leap Patent | Reverberation gain normalization(Magic Leap专利:归一化混响增益)》

在一个实施例中,专利描述了用于对混响属性进行精确和独立控制的系统和方法。系统可以包括混响处理系统,直接处理系统和组合器。混响处理系统可以包括混响初始功率控制系统和混响器。混响初始功率控制系统可以包括混响初始增益和混响初始功率校正器。可以配置为将混响初始增益和值应用于输入信号,混响初始功率校正器可以配置为将混响初始功率校正因子应用于混响初始增益信号。混响器可以配置为将混响效果应用于来自混响初始功率控制系统的信号。可以计算和应用一个或多个值和/或校正因数,从而将输出的信号标准化为预定值。
2. 《Magic Leap Patent | Interactions With 3d Virtual Objects Using Poses And Multiple-Dof Controllers(Magic Leap专利:通过姿势和多自由度控制器与3D虚拟对象交互)》

在一个实施例中,专利描述的可穿戴系统可包括:配置为在三维空间中呈现虚拟内容的显示系统;配置为接收用户输入的用户输入设备;以及配置为检测用户姿势的一个或多个传感器。可穿戴系统可以基于情景信息支持用户与环境对象进行各种用户交互。作为一个示例,可穿戴系统可以根据情景信息在锥形投射期间调整虚拟圆锥形的孔径大小。作为另一示例,可穿戴系统可以根据情景信息来调整与用户输入设备驱动相关联的虚拟对象移动量。
3. 《Magic Leap Patent | Mixed reality musical instrument(Magic Leap专利:混合现实乐器)》

在一个实施例中,专利描述的方法包括以下步骤:在混合现实环境中识别第一真实对象;在所述混合现实环境中识别第二真实对象;在所述混合现实环境中生成与所述第二真实对象相对应的第一虚拟对象;在混合现实环境中,识别第一真实对象和第一虚拟对象之间的碰撞;确定与碰撞相关联的第一属性;基于第一属性确定与碰撞相对应的第一音频信号;以及经由一个或多个扬声器将第一音频信号呈现给用户。
4. 《Magic Leap Patent | 3d models for displayed 2d elements(Magic Leap专利:显示2D元素的3D模型)》

在一个实施例中,专利描述的系统包括:配置为供用户佩戴的屏幕,所述屏幕配置为显示2D元素;耦合到显示器的处理单元;以及配置为响应于用于选择屏幕显示2D元素的用户输入而生成信号的用户输入设备。其中,所述处理单元配置为响应于所生成的信号而获得与所述2D元素相关联的3D模型。
5. 《Magic Leap Patent | Technique For Controlling Virtual Image Generation System Using Emotional States Of User(Magic Leap专利:利用用户情感状态控制虚拟图像生成系统的技术)》

在一个实施例中,专利描述的虚拟图像生成系统方法包括:允许最终用户与包括至少一个虚拟对象的三维环境进行交互;在三维环境的环境中向终端用户呈现刺激;感测至少一个终端用户响应于刺激呈现的生物特征参数;为每个生物特征参数生成生物特征数据;根据生物特征数据确定终端用户是否处于至少一种特定的情绪状态;并至少部分地根据终端用户处于特定的情绪状态来执行最终用户可辨别的行为。
6. 《Magic Leap Patent | Methods and systems for augmented reality display with dynamic field of view(Magic Leap专利:具有动态视场的增强现实显示器方法和系统)》

在一个实施例中,专利描述的方法包括产生与第一深度平面相关联的第一虚拟内容,将第一虚拟内容耦合到动态目镜中,以及通过动态目镜的一个或多个波导层将第一虚拟内容投影到用户眼睛。所述方法包括将一个或多个波导层修改为以不同于第一表面轮廓的第二表面轮廓,产生与第二深度平面相关联的第二虚拟内容,将第二虚拟属性耦合到动态目镜中,以及通过动态目镜的一个或多个波导层将第二虚拟内容投影到用户眼睛。
7. 《Magic Leap Patent | Apparatus For Optical See-Through Head Mounted Display With Mutual Occlusion And Opaqueness Control Capability(Magic Leap专利:具有相互遮挡和不透明度控制能力的光学透视头显)》

在一个实施例中,显示系统通常包括用于查看虚拟图像的虚拟视图路径,以及用于查看现实场景的透视路径。虚拟视图路径包括用于提供虚拟图像内容的微型图像显示组件,以及用于浏览放大虚拟图像的目镜。透视路径则包括:用于直接捕获现实场景光线并固定至少一个中间图像的物镜光学元件;位于或靠近中间图像平面以控制透视视图透明度的空间光模块(SLM);以及用于查看透视视图的目镜光学系统。
8. 《Magic Leap Patent | Eyepieces For Augmented Reality Display System(Magic Leap专利:用于增强现实显示系统的目镜)》

在一个实施例中,用于增强现实显示系统的目镜波导可以包括光学透射基板,输入耦合光栅(ICG)区域,多向光瞳扩展器(MPE)区域,以及出射光瞳扩展器(EPE)区域。ICG区域可以接收输入光束,并将输入光束作为引导光束耦合到基板。MPE区域可以定位成接收来自ICG区域的引导光束,并在多个方向上衍射所述引导光束,从而以产生多个衍射光束EPE区域可以定位成接收来自MPE区域的一个或多个衍射光束,并将它们作为输出光束从光学透射基板中耦合出来。
9. 《Magic Leap Patent | Methods, devices, and systems for illuminating spatial light modulators(Magic Leap专利:用于照亮空间光调制器的方法、设备与系统)》

在一个实施例中,发明描述的光学设备包括光学转向元件。光学设备可包括平行于水平轴的第一表面,以及与第一表面相对的第二表面。光学设备可包括含有多个光发射器的光模块。光模块可以配置为组合光线并用于多个发射器。光学设备同时包括位于第一表面和第二表面之间,并且相对于光模块设置的光输入表面,其可以接收从多个发射器发射而来的光线。光学设备可包括端子反射器,其设置在与光输入表面相对的一侧。耦合到光转向元件中的光线可以由端子反射器反射,和/或从第二表面朝向第一表面反射。
10. 《Meta Patent | Adaptive model updates for dynamic and static scenes(Meta专利:动态和静态场景的自适应模型更新)》

在一个实施例中,计算系统可以监视环境的第一3D模型的一个或多个区域,以确定各个区域变化的频率。计算系统可以基于相应区域变化的频率来确定一个或多个区域中的第一区域是静态的。计算系统可以基于第二3D模型和第一区域的第一深度测量之间的比较,将第一时间段延迟到第二时间段以更新第一3D模型。计算系统可以基于第二3D模型和第一区域的第一深度测量之间的比较来检测第一区域在第二时间段之后是否改变。计算系统可以响应于检测到第一区域中的变化,更新第一区域的第一3D模型。
11. 《Meta Patent | Virtual object structures and interrelationships(Meta专利:虚拟对象结构和相互关系)》

在一个实施例中,专利描述的虚拟对象系统可以定义为组件集合并在对象层次结构中具有继承性的虚拟对象。虚拟对象组件可以包括容器、数据、模板和控制器。容器可以定义虚拟对象授权写入的体积。虚拟对象的数据可以指定诸如视觉元素、参数、到外部数据的链接、元数据等功能。模板可以定义虚拟对象的视图状态以及用于在它们之间转换的情景断点。每个视图状态都可以控制虚拟对象何时以及如何显示数据元素。控制器可以定义虚拟对象的逻辑以响应输入和情景等。每个对象的定义可以指定对象扩展对象层次结构中的其他对象。
12. 《Meta Patent | Display engine for post-rendering processing(Meta专利:用于后期渲染处理的显示引擎)》

在一个实施例中,计算系统可以访问人工现实场景的表面和纹素数据。可以基于用户的第一位置来生成表面。系统可以确定显示器的tile,以从第二位置测试表面的可见性。tile可以包括需要更多计算资源的第一tile和需要更少计算资源的第二tile。系统可以确定交织第一tile和第二tile的tile顺序。系统可以基于tile顺序来生成射线。系统可以基于射线-表面相交来确定来自第二位置的表面的可见性。系统可以基于表面可见性和纹素数据生成子帧的颜色值。系统可以向显示器提供颜色值。
13. 《Meta Patent | Cloud rendering of texture map(Meta专利:纹理图云渲染)》

在一个实施例中,专利描述的方法包括接收虚拟对象的几何表示和纹理图谱的步骤,几何表示包括定义虚拟对象的形状的多个几何基元,纹理图谱包括区域,每个区域分配为包括多个几何图元中的相应几何图元的着色信息。可以将各个几何图元的着色信息按比例缩小到小于所分配的区域,以便在纹理图谱上的所述多个区域中的所述分配的区域和相邻区域之间创建缓冲区。所述方法还包括以下步骤:基于从其查看虚拟对象的第一视点,从多个几何图元中识别可见几何图元,并使用包括在纹理图谱中的对应着色信息来渲染可见几何图元的图像。
14. 《Meta Patent | Volumetric avatars from a phone scan(Meta专利:手机扫描的体三维Avatar)》

在一个实施例中,专利描述的方法包括从移动设备接收第一对象的多个图像,基于一组可学习权重从第一对象的图像中提取多个图像特征,从图像特征和第二对象的现有三维模型推断第一对象的三维模型,基于沉浸式现实应用程序来动画化所述第一对象的三维模型,并且向头显提供所述第一主体的三维模型的图像。
15. 《Meta Patent | 视场eated rendering using eye motion(Meta专利:使用眼睛运动进行注视点渲染)》

在一个实施例中,专利描述的方法包括接收眼动追踪数据;使用眼动追踪数据来确定当前注视位置以及当前注视位置与显示器边缘之间的相对距离;使用当前注视位置和当前注视位置与显示器边缘之间的相对距离来定义以当前注视位置为中心的第一tile和围绕第一tile的多个tile。所述方法包括使用第一tile和多个tile来提供注视点渲染图像。
16. 《Meta Patent | Techniques for reducing visual artifacts in 视场eated rendering(Meta专利:减少注视点渲染中视觉伪影的技巧)》

在一个实施例中,专利描述的方法包括由计算系统使用基于tile的图形处理单元来渲染图像。确定佩戴头戴式设备的用户的注视位置,并使用注视位置从多个tile中选择用户的注视位置所在的中央tile、中央tile外部的外围tile以及位于中央tile和外围tile之间的边界tile。指示GPU渲染第一像素密度的中心tile,第二像素密度的外围tile,以及第一像素密度和第二像素密度的边界tile,然后混合以第一像素密度渲染的边界tile和以第二像素密度渲染的边界tile以创建混合边界tile。然后,使用头戴式设备的显示器输出中心tile、外围tile和混合边界tile。
17. 《Meta Patent | Obscuring objects in data streams using machine learning(Meta专利:使用机器学习模糊数据流中的对象)》

在一个实施例中,可以处理与主要用户相关联的客户端设备捕获的数据流,以识别流中的对象。基于定义对象共享规则的用户偏好,可以从数据流中遮挡一个或多个已识别的对象。例如,当主要用户的数据流被显示给参与者用户时,例如在视频会议期间,根据对象共享规则,主要用户数据流中的对象可以被遮挡。不同组的对象共享规则(例如,简档)可以用于不同的参与者用户或会话类型。机器学习可用于学习趋势并预测用于当前或未来共享流数据会话的配置文件。
18. 《Meta Patent | Artificial reality application lifecycle(Meta专利:人为现实应用生命周期)》

在一个实施例中,可以向用户建议应用程序,用户可以授权执行应用程序并设置应用程序的权限。应用程序可以分为可以逐步下载的组件。通过提供与当前情景相关的应用程序建议并逐步下载应用程序组件,应用程序可以显得环境友好,而不是依赖用户不断下载、安装或激活应用程序。
19. 《Meta Patent | Integration of artificial reality interaction modes(Meta专利:人工现实交互模式的融合)》

在一个实施例中,交互模式系统在人工现实环境中提供多个交互模式,在交互模式之间具有自动的、情景特定的转换。交互模式可以指定交互模式系统如何确定人工现实环境中的方向指示和移动以及用于做出选择或执行其他动作的交互。
20. 《Meta Patent | Phase plate and fabrication method for color-separated laser backlight in display systems(Meta专利:显示系统中彩色分离激光背光的相位板和制造方法)》

在一个实施例中,专利描述的方法可以包括提供干涉仪配置以生成多个针孔的全息图。干涉仪配置包括用于光聚合物附着的基底、具有预定厚度的光聚合物、以及具有多个针孔的曝光掩模。所述方法可以包括通过具有多个针孔的曝光掩模,经由激光源用准直光曝光光聚合物,其中准直光穿过曝光掩模本身以产生准直光束,并且穿过曝光掩膜的多个针孔以产生球面波阵面。准直光束和球面波阵面可以帮助在光聚合物上生成全息图,用作显示系统中用于提高光透射率的相位板。
21. 《Meta Patent | Phase plate and fabrication method for color-separated laser backlight in display systems(Meta专利:显示系统中彩色分离激光背光的相位板和制造方法)》

在一个实施例中,相位板可以包括透明基板和附着到透明基板的光聚合物层。光聚合物层可以通过相位调节和聚焦来调节背光。相位板可以将背光的多个红色、绿色和蓝色分量聚焦到沉积在其上的薄膜晶体管(TFT)层的相应的红色、绿色、和蓝色子像素上。相位板的光聚合物层与薄膜晶体管(TFT)层的多个红色、绿色和蓝色子像素之间的距离可以在从大约200μm到大约500μm的范围内。
22. 《Meta Patent | Micro-oled display module thermal management(Meta专利:Micro-OLED显示模块热管理)》

在一个实施例中,专利描述了一种包括μ-OLED显示面板和电子元件的器件。电连接器将μ-OLED显示面板和电子元件电耦合。在电子元件和μ-OLED显示面板之间设置有支座。支座通过电子元件和μ-OLED显示面板之间的间隙将其物理耦合。间隙使电子元件与μ-OLED显示面板热去耦。U形散热器可以设置在支架中,当U形散热器设置在支架时,系统风扇可以减轻μ-OLED显示器产生的热量。
23. 《Meta Patent | Micro-oled display module thermal management(Meta专利:Micro-OLED显示模块热管理)》

在一个实施例中,专利描述的设备包括一个µ-OLED显示面板和一个电子元件。电连接器将µ-OLED显示面板和电子元件电耦合。在电子元件和µ-OLED显示面板之间设置有支座。支座通过电子元件和µ-OLED显示面板之间的间隙将其物理耦合。间隙使电子元件与µ-OLED显示面板热去耦。与µ-OLED显示面板集成的风扇放置在支架中,并主动冷却显示面板。当风扇在µ-OLED显示面板提供气流时,冷却空气会减轻µ-OLED显示器产生的热量。
24. 《Meta Patent | Systems and methods of initial onboarding and steering for wi-fi devices(Meta专利:Wi-Fi组件的初始指导系统和方法)》

在一个实施例中,连接在无线局域网(WLAN)中的第一设备可以包括一个或多个处理器。所述一个或多个处理器可以配置为与第一接入点相关联。一个或多个处理器可以配置为经由收发器从第二设备无线地接收第一帧。一个或多个处理器可以配置为经由第一接入点无线地接收第二帧。所述一个或多个处理器可以配置为将第一帧中指示的标识符与第二帧中所指示的标识符进行比较。一个或多个处理器可以配置为至少基于比较的结果,以确定第一设备是继续与第一接入点相关联,还是与配置在第二设备中的soft-AP相关联。
25. 《Meta Patent | Intralink based session negotiation and media bit rate adaptation(Meta专利:基于链路内的会话协商和媒体比特率自适应)》

在一个实施例中,专利描述了用于适配/协商媒体信息的系统和方法。第一设备可以确定第一设备和第一系留设备之间的未授权频谱中的无线信道的信道质量。第一设备可以根据信道质量来确定无线信道上可支持的第一比特率。第一设备可以向第二设备发送具有所提供的比特率的提供消息。其中,比特率包括第一比特率或第二比特率中的较低比特率,所述第一比特率可由第一设备和第二设备之间的连接至少部分地跨许可频谱支持。第一设备可以从第二设备接收具有小于或等于所提供的比特率的回复比特率的答复消息,以应用于至少第一系留设备、第一设备和第二设备之间的无线通信。
26. 《Meta Patent | Integrated vcsel device and photodiode and methods of forming the same(Meta专利:集成VCSEL器件和光电二极管及其形成方法)》

在一个实施例中,专利描述了一种发光器件,其包括由第一导电类型的半导体衬底的一部分形成的单个管芯、由设置在半导体衬底的该部分的表面上的一组材料层形成的第一垂直腔表面发射激光器(VCSEL),以及第一光电二极管。所述第一光电二极管形成在所述半导体衬底的所述部分的表面处。
27. 《Meta Patent | Systems and methods for predicting elbow joint poses(Meta专利:预测肘关节姿势的系统和方法)》

在一个实施例中,专利描述的计算系统可以接收由摄像头捕获的图像,图像包括用户身体的一部分的一个或多个区域。基于图像,以及摄像头的谁想投姿势,确定源自用户的肘部可能位于摄像头姿态的三维体积约束。系统可以至少基于三维体积约束来推断用户的肘部姿势,其中肘部姿势包括在三维空间中与用户的肘部相关联的位置。系统可以确定与肘部相关联的位置在三维体积约束之外,并且响应于所述确定,调整推断的肘部姿势。系统可以基于经调整的肘部姿势生成用户的身体姿势。
28. 《Meta Patent | In-ear temperature sensors for ar/vr applications and devices(Meta专利|:AR/VR应用和设备的入耳式温度传感器)》

在一个实施例中,专利描述的入耳式设备包括配置为密封用户耳道的耳内固定装置,安装在耳内固定装置上并配置为接收来自用户耳道的温度信号的温度传感器,以及耦合到增强现实头显的处理器。处理器配置为根据温度信号识别用户的健康状况。
29. 《Meta Patent | In-ear electrodes for ar/vr applications and devices(Meta专利|:AR/VR应用和设备的入耳式电极)》

在一个实施例中,专利描述了一种用于执行耳内监测的电气测量的装置。所述装置包括配置为适合于用户耳道的耳内固定装置,安装在耳内固定装置上并配置为接收来自皮肤的电子信号的第一电极,以及用于接收通过用户耳传播的声学信号的内部麦克风。所述装置同时包括耦合用于接收通过环境传播的外部声学信号的外部麦克风,以及耦合到增强现实头显的处理器。处理器基于电子信号、内部声学信号和外部声学信号中的至少一种来识别用户的心血管状况或神经状况。
30. 《Meta Patent | In-ear optical sensors for ar/vr applications and devices(Meta专利|:AR/VR应用和设备的入耳式光学传感器)》

在一个实施例中,专利描述的设备包括一个耳内固定装置,发射器安装在耳内固定装置和配置先发出电磁辐射到用户的耳道。设备同时包括一个检测器和一个处理器。处理器配置为识别用户的健康状况。
31. 《Meta Patent | In-ear motion sensors for ar/vr applications and devices(Meta专利|:AR/VR应用和设备的入耳式运动传感器)》

在一个实施例中,专利描述的设备包括被配置为安装在用户耳道中的耳内固定装置、安装在耳内固定装置上并配置为提供指示用户的内部身体运动的运动信号的运动传感器、耦合为向用户提供音频信号的扬声器、以及耦合到增强现实头显的处理器。所述处理器配置为基于所述运动信号来识别所述用户的健康状况。
32. 《Meta Patent | In-ear sensors and methods of use thereof for ar/vr applications and devices(Meta专利|:AR/VR应用和设备的入耳式传感器及其使用方法)》

在一个实施例中,专利描述的方法包括从第一电极接收来自入耳式设备的第一电子信号,从第一麦克风接收来自耳外监视器的第一声信号和第二声信号(双耳数据捕获),利用所述第一声信号形成声学波形,利用所述第一电子信号形成电子波形,以及基于所述声学波形和所述电子波形来识别所述用户的健康状况。
33. 《Apple Patent | Method and device for managing attention accumulators(苹果专利:管理注意力累积器的方法和设备)》

在一个实施例中,执行一种用于使用基于眼动追踪的注意力累加器来选择UI元素的方法。所述方法包括:当当前选择第一UI元素时,检测指向第二UI元素的注视方向;响应于检测到指向所述第二UI元素的所述注视方向,减小与所述第一UI元素相关联的第一注意力累积值,并且增大与所述第二UI元素相关的第二注意力累积值;根据所述第二注意力累积值超过所述第一注意力累积值的确定,取消选择所述第一UI元素并选择所述第二UI元素;并且根据所述第二注意力累积器值没有超过所述第一注意力累积器的值的确定,维持对所述第一UI元素的选择。
34. 《Microsoft Patent | Dynamic control of waveguide eye box(微软专利:波导视窗的动态控制)》

在一个实施例中,专利描述的近眼显示设备包括眼动追踪系统和波导。眼动追踪系统配置为确定用户的眼睛相对于所述近眼睛显示设备的位置,所述波导至少包括耦入器和耦出器。耦出器包括多个区域,每个区域可经由所述区域的动态可控耦出元件激活。近眼显示设备同时包括配置为将图像光输出到耦入器的图像源,以及配置为至少基于眼睛的位置选择性地激活耦出器的一个或多个区域的控制器。
35. 《Microsoft Patent | Gesture recognition based on likelihood of interaction(微软专利:基于交互可能性的手势识别)》

在一个实施例中,专利描述了一种用于评估手势输入的方法。所述方法包括接收顺序数据帧的输入数据,包括用户的手的手追踪数据。第一神经网络训练为识别指示后续手势交互的特征,并且配置为评估数据帧序列的输入数据,同时输出用户在数据帧的预定窗口期间执行手势交互的可能性的指示。第二神经网络训练为识别指示用户当前是否正在执行一个或多个手势交互的特征,并且配置为基于指示的可能性在预定窗口期间调整手势交互识别的参数。第二神经网络基于调整后的参数评估预定窗口中执行的手势交互,并输出关于用户是否在预定窗口期间执行一个或多个手势交互的信号。
36. 《Microsoft Patent | Systems and methods for updating continuous image alignment of separate cameras(微软专利:用于更新独立摄像头的连续图像对齐的系统和方法)》

在一个实施例中,专利描述的系统识别与由参考摄像头和匹配摄像头在一个或多个先前时间点捕获的先前帧对相关联的先前对准矩阵。先前对齐矩阵基于先前帧对中的视觉对应。系统同时识别与参考摄像头和匹配摄像头在一个或多个当前时间点捕获的当前帧对相关联的当前矩阵。当前矩阵基于当前帧对中的视觉对应。系统同时识别与参考摄像头或匹配摄像头相关联的,相对于一个或多个先前时间点和一个或更多个当前时间点的差值。系统通过使用先前的对准矩阵、当前矩阵和差值作为输入来生成更新的对准矩阵。
37. 《Microsoft Patent | Re-creation of virtual environment through a video call(微软专利:通过视频通话重新创建虚拟环境)》

在一个实施例中,AR设备可以使用表面重建SR摄像头和传统的红-绿-蓝RGB摄像头实时捕捉场景的3D表示。3D表示可以发送到用户的计算设备并在用户的计算装设备查看,从而使得用户能够导航3D表示。用户可以在自由的第三人称模式中查看3D表示,使得用户能够虚拟地漫游或飞行通过AR设备捕获的表示。用户同时可以选择用于自上而下或同构视角的平面布置模式。
38. 《Sony Patent | Image processing device, image processing method, and program(索尼专利:图像处理设备、图像处理方法和程序)》

在一个实施例中,专利描述的图像处理设备包括:数据存储单元,其存储指示一个或多个物理对象的外观特征的特征数据;环境地图构建单元,其用于基于通过对真实空间进行成像而获得的输入图像和所述特征数据来构建环境地图;控制单元,其用于获取要在真实空间中执行的一组操作过程的过程数据系;以及叠加单元,其用于通过使用过程数据在输入图像中基于环境地图和位置信息确定的位置处叠加每个过程的方向来生成输出图像。
39. 《Sony Patent | Terminal device, information processing device, object identifying method, program, and object identifying system(索尼专利:终端设备、信息处理设备、对象识别方法、程序和对象识别系统)》

在一个实施例中,专利描述的设备可以包括配置为获取图像的图像获取单元,以及配置为将与图像相关联的信息发送到诸如服务器之类的信息处理设备的发送单元。服务器可以与第一特征量字典相关联。设备同时可以包括接收单元,接收单元被配置为响应于传输从服务器接收第二特征量字典。第二特征量字典可以包括比第一特征量字典更少的信息,并且服务器可以基于图像信息和第一特征量词典生成第二特征数量字典。设备可以包括识别单元,识别单元配置为使用第二特征量字典来识别图像内的对象。
40. 《Sony Patent | Information processing method, program, and system(索尼专利:信息处理方法、程序和系统)》

在一个实施例中,专利描述的方法包括控制用户相对于真实空间的虚拟视点的设置以及用户能够相对于真实空间执行与真实空间相关的操作的可操作范围的设置。这使得可以在操作中表现出高度的直观性。另外,可操作范围设置为用户握持的控制器能够够到的范围,因此可以使用人类的物理空间感知能力。
41. 《Sony Patent | Information processing device, information processing method, and program(索尼专利:信息处理设备、信息处理方法和程序)》

在一个实施例中,基于布置在测量目标的多个部分处的多个测量装置中的每一个的位置和方位,以及基于基于测量装置的位置和姿态设置的测量装置之间的连接关系,系统估计测量目标的姿态。每个测量装置包括惯性传感器。所述技术可以应用于动捕系统。
42. 《Sony Patent | Information processing apparatus, tactile sense providing system, and program(索尼专利:信息处理设备、触觉提供系统和程序)》

在一个实施例中,专利描述的信息处理设备包括真实对象检测器、身体部位检测器和驱动信号发生器。真实对象检测器检测真实对象。身体部位检测器检测身体部位的位置和姿势。驱动信号发生器基于真实对象和身体部位之间的位置关系产生驱动信号。其中,驱动信号提供给触觉提供机制。
43. 《Sony Patent | Head-mounted device(索尼专利:头戴式设备)》

在一个实施例中,专利描述了一种能够以适当的夹紧力安装在头部的头戴式设备。所述设备包括前挡块、安装带、一对左右第一弹性构件和调节机制。前挡块安装在头部的前侧。一对第一弹性构件设置在前挡块和安装带之间。所述调节机制设置在所述前挡块中。
44. 《Sony Patent | Systems and methods for determining a type of material of an object in a real-world environment(索尼专利:在现实世界环境中确定对象材质类型的系统和方法)》

在一个实施例中,专利描述的方法包括接收基于从多个环境中的多个对象接收的声音的多个音频数据集;接收关于所述多个对象的多个类型的材质的多个输入数据集,训练基于所述多个音频数据集和所述多个输入数据集的人工智能AI模型;并将AI模型应用于从现实世界环境中捕获的一组音频数据,以确定现实世界环境中对象的材质类型,以增AR/VR游戏和应用的真实感。
45. 《Google Patent | Real time virtual teleportation in a browser(谷歌专利:浏览器中的实时虚拟传送)》

在一个实施例中,专利描述的方法包括在第一设备的浏览器中打开基于网络的视频呼叫,从第二设备接收加入基于网络视频呼叫的请求,由第一设备捕获包括帧的视频,由第一设备分割帧,由第一设备选择分割帧的至少一个片段,以及流式传输至少一个片段作为实时虚拟传送。
46. 《Google Patent | Case for smartglasses with calibration capabilities(谷歌专利:具有校准功能的智能眼镜盒)》

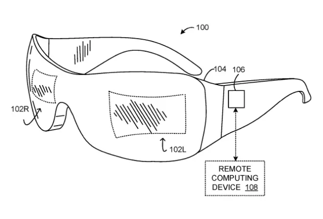
在一个实施例中,专利描述了一个具有校准功能的智能眼镜盒。所述眼镜盒能够在储存智能眼镜设备的同时执行显示器校准。所述眼镜盒包括光学组件,光学组件配置为形成在智能眼镜设备的第一显示器和第二显示器中形成的测试图案的图像。
47. 《Qualcomm Patent | Inter-component residual prediction for color attributes in geometry point cloud compression coding(高通专利:几何点云压缩编码中颜色属性的分量间残差预测)》

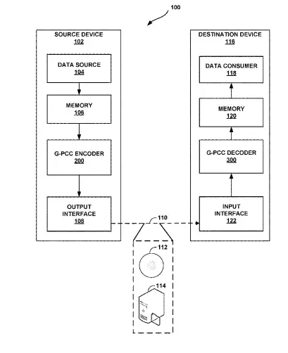
在一个实施例中,专利描述了一种用于解码编码的点云数据的设备,其可以配置为,对于点云的点,基于第一预测值和第一残差值来确定第一颜色分量的第一颜色值;将缩放因子应用于所述第一残差值以确定预测的第二残差值,其中所述缩放因子具有非整数值或大于1的绝对值中的一者或两者;对于点云的点,接收编码的点云数据中的第二残差值;基于所预测的第二残差值和所接收的第二残留值来确定最终的第二剩余值;并且对于点云的点,基于第二预测值和最终的第二残差值来确定第二颜色分量的第二颜色值。
48. 《Samsung Patent | System and method for three-dimensional scene reconstruction and understanding in extended reality (xr) applications(三星专利:用于扩展现实应用中三维场景重建和理解的系统和方法)》

在一个实施例中,专利描述的一种方法包括从深度传感器接收真实世界场景的深度数据,从图像传感器接收场景的图像数据,从IMU接收深度传感器和图像传感器的运动数据,以及基于深度数据、图像数据和/或运动数据确定设备的初始六自由度姿态。所述方法同时包括将六自由度姿态传递到后端以获得优化的姿态,并基于优化的姿态、图像数据和深度数据生成场景的三维重建。重建包括密集深度图、密集表面网格和/或一个或多个语义分割的对象。所述方法进一步包括将重建传递到前端,并在前端渲染XR帧。XR帧包括投影在场景的一个或多个表面上的三维XR对象。
49. 《Samsung Patent | System and method for generating a three-dimensional photographic image(三星专利:生成三维摄影图像的系统和方法)》

在一个实施例中,专利描述的一种方法包括从摄像头接收包括背景和一个或多个三维对象的场景的图像数据的一个或更多个帧,其中每个帧包括图像数据的像素光栅;检测所述场景的层信息,其中所述层信息与所述一个或多个帧中的像素的基于深度的分布相关联;以及确定所述场景的多层模型,所述多层模型包括多个离散层,所述离散层包括第一离散层和第二离散层,其中每个离散层与相对于所述摄像头的唯一深度值相关联。所述方法进一步包括,将像素映射到多个离散层中的层;将像素渲染为从第一视角查看的场景的第一图像;以及将像素渲染为从第二视角查看的场景的第二图像。
50. 《Samsung Patent | Reconstructing a three-dimensional scene(三星专利:重建一个三维场景)》

在一个实施例中,专利描述的一种方法包括在特定时间的场景的立体图像对的每个图像中,将每个像素识别为与当时不具有局部运动的场景的一部分相对应的静态像素,或者与当时具有局部运动地景的一部分相对应的动态像素。对于每个静态像素,所述方法包括比较该像素的多个深度计算中的每一个,并且当深度计算相差至少阈值量时,将像素重新标记为动态像素。对于每个动态像素,所述方法包括将该像素的几何3D计算与该像素的时间3D计算进行比较,并且当几何3D计算和时间3D计算在阈值量内时,将该像素重新标记为静态像素。
51. 《Samsung Patent | Augmented reality device for changing input mode and method thereof(三星专利:用于改变输入模式的增强现实设备及其方法)》

在一个实施例中,专利描述的电子设备包括至少一个处理器、至少一个摄像头和至少一个显示器,其中所述处理器可以配置为识别情况是否需要针对包括通过所述至少一个摄像头接收的至少一个或多个对象的图像进入手指模式,基于是否满足针对所述至少一个或多个对象的指定条件,如果所述情况被识别为需要进入手指模式,则执行提供与手指模式相对应的用户界面的手指模式,并且,如果在进入手指模式之前提供有虚拟对象,修改虚拟对象的属性,并将其显示在与所述手指模块相对应的所述用户界面的显示区域内的指定区域中。
52. 《HTC Patent | Head-mounted display device and wearable assembly(HTC专利:头戴式显示设备和可穿戴组件)》

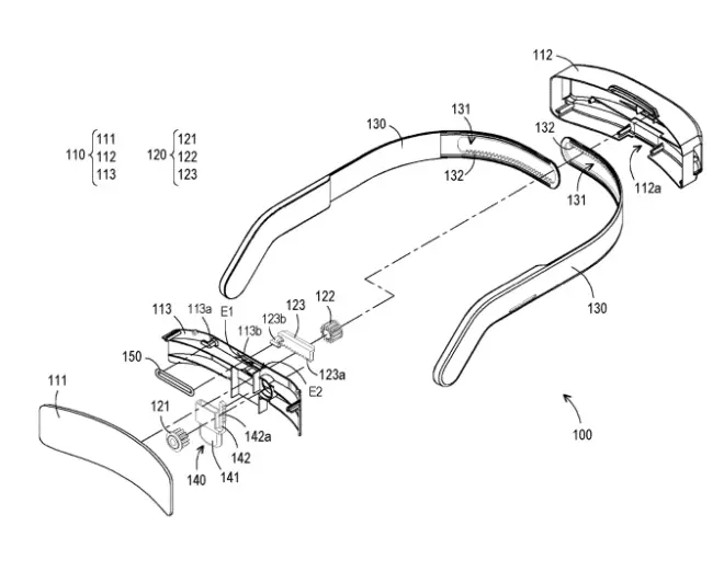
在一个实施例中,专利描述的头戴式显示设备包括前组件和可佩戴组件。可佩戴组件连接到前组件,并且适于将前组件佩戴到用户的脸上。可穿戴组件包括支架、耦合机制、多个侧头带、按钮和位置返回构件。
53. 《Snap Patent | Interactive augmented reality system(Snap专利:交互式AR系统)》

在一个实施例中,专利描述了一种交互式增强现实系统。其中,所述交互式增强现实系统用于在客户端设备处生成并导致交互式增强现实内容的显示。
54. 《Snap Patent | Surface aware lens(Snap专利:表面感知透镜)》

在一个实施例中,专利描述了一种用于在真实世界环境中渲染三维虚拟对象的方法。通过利用包括多个追踪子系统的冗余追踪系统,当用户在真实世界中围绕对象移动时,可以适当地改变三维虚拟对象的虚拟渲染。虚拟对象渲染可以是关于在移动计算设备的摄像头视图中描绘的真实世界三维空间中的参考表面。
55. 《Snap Patent | Augmented reality system(Snap专利:AR系统)》

在一个实施例中,专利描述的增强现实系统用于在第一客户端设备处生成并导致显示空间的呈现,在第一客户端装置处接收对空间的呈现内的点的一个或多个选择,并且在第一客户端器件处呈现空间的呈现中的一个或者多个点处呈现图形元素。增强现实系统同时配置为接收在第二客户端设备处显示该空间的显示请求,并且作为响应,可以在第二客户机设备处呈现该空间的第二呈现。
56. 《Snap Patent | Head-wearable apparatus to generate binaural audio(Snap专利:可产生双耳音频的头戴式设备)》

在一个实施例中,用于生成双耳音频内容的头戴式设备包括耦合到第一麦克风外壳的第一杆,所述第一麦克风外壳封装分别生成声学信号的第一前麦克风和第一后麦克风。第一麦克风壳体包括面朝下的第一前端口和面朝后的第一后端口。所述设备包括耦合到第二麦克风外壳的第二杆,第二麦克风壳体封装分别产生声信号的第二前麦克风和第二后麦克风。第二麦克风壳体包括面朝下的第二前端口和面朝后的第二后端口。设备包括双耳音频处理器,双耳音频处理器包括波束形成器和存储设备。波束形成器基于来自第一前麦克风和第一后麦克风的声学信号生成第一波束形成器信号,并且基于来自第二前麦克风和第二后麦克风的声信号生成第二波束形成器。
---
原文链接:https://news.nweon.com/111188

