“病态”投诉媒体批评报道侵权,特斯拉看来是急了
“你的账号收到一条侵权投诉”。
不用看我都知道一定又是特斯拉,但我已经懒得理会了。
这是2月7日的事。
一个礼拜之后,2月15日,系统再次提醒——“你的账号收到一条侵权投诉”。
自然还是特斯拉,可让我万万没想到的是,特斯拉投诉的居然还是同一条内容——“特斯拉:好好的公关我不做,就等你们喷,哎,就是玩儿~
https://mp.weixin.qq.com/s/8NSSVOvjfx1VXjknOJBrUQ”


这是一条发布于2021年5月15日的稿子,针对上海车展“车顶维权”事件后特斯拉的一系列“骚操作”,及其全球副总裁陶琳的一系列出格言论,DearAuto的年轻编辑实在没忍住,吐槽了一下,站在特斯拉的角度当然算不上友好,但侵权是不存在的。
其实,早在2022年3月27日,特斯拉就已经投诉这条稿件“侵权”,2022年4月1日,微信平台方裁定——“经审核,该投诉不符合法定处理条件,不予支持。”


也就是说,这条特斯拉认为侵权的稿件,早已被平台方认定不存在侵权,可特斯拉却在时隔10个多月之后,又对同一内容连续两次投诉侵权!
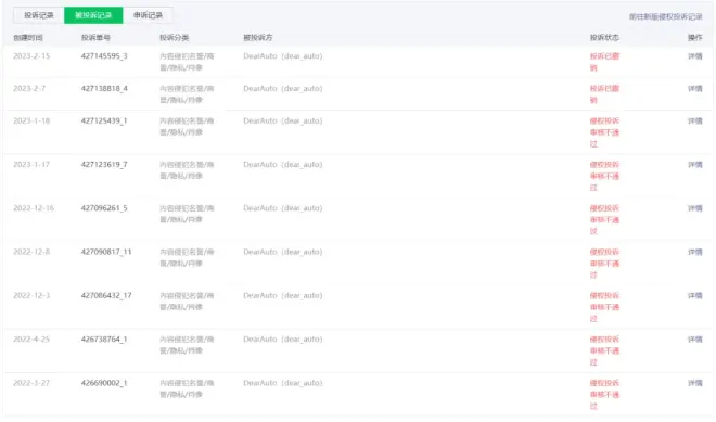
这种既无聊又无赖的举动,发生在特斯拉身上一点都不让人意外。DearAuto(以下简称“DA”)成立已经六年半了,发布过的内容成千上万,但迄今为止总共只收到过9次“侵权”投诉,而这9次投诉都来自特斯拉(详见下表)。

DearAuto成立以来共遭到9次侵权投诉,均来自特斯拉,前7次均被平台裁定侵权不成立,最近两次则是特斯拉自己撤销了投诉。
除了上述提到的“特斯拉:好好的公关我不做,就等你们喷,哎,就是玩儿~
https://mp.weixin.qq.com/s/8NSSVOvjfx1VXjknOJBrUQ”这条内容前后被投诉过3次,另一条稿件“醒醒吧!特斯拉的失控一直都不分国界”也被投诉过3次;
而发布于2023年1月11日的这条稿件——“电机爆炸!特斯拉又出新事故,质量问题比降价更令人心寒
https://mp.weixin.qq.com/s/sRvawizQe6y0G0GnE_flag”则被投诉了2次。

动不动就投诉侵权,特斯拉真以为“特斯拉”是敏感词?
都是平台已经做出没有侵权的裁定,但特斯拉不服,继续投诉,看来是不达删稿目的不罢休啊!
而这在一定程度上也许要怪我们自己。因为发布于2022年4月24日的一条稿件——看了视频,这次特斯拉失控原因百分百不是误踩加速踏板——在被投诉之后,虽然微信平台很快于2022年5月1日就已经裁定“侵权不成立”,但一来我们实在是有点烦了,一只苍蝇始终在你身边“嗡嗡嗡”的驱之不去,谁不烦呢?二来觉得没必要总是给平台添乱——平台处理这类投诉也是要投入人力和精力的;三来也是不想再浪费太多时间跟特斯拉纠缠,要知道,时间可是世界上最宝贵的东西,于是就做了删稿处理(该文在其它平台还有保留,大家如有兴趣可以打开链接查看——
https://news.yiche.com/hao/wenzhang/66348210/)。
估计面对持续、频繁的“侵权投诉”,不少媒体和我们心态相同,也删除了一些原本并不存在侵权的内容,这下特斯拉尝到了甜头,于是过度甚至是有点“病态”地使用侵权投诉就成了特斯拉逃避正常舆论监督的一种手段。
但是,9次投诉,2次自己撤回,7次被平台驳回,看来,这种手段不仅在平台看来有点下三滥,连特斯拉自己偶尔都会觉得有点无聊了吧?

可笑的是,最近的两次投诉,DA还没来得及搭理,特斯拉自己就在2月16日下午撤销了,不过自己打脸这种事,对字典里压根就没有“难堪”这个词的特斯拉实在不算啥。
当然,也有一种可能是特斯拉忙中出错,忘了这条内容早在10个多月前就已经投诉过了,毕竟,这边厢在连续经历了多次“疑似”刹车失灵、系统失控的恶性致死事件之后,最近网络上特斯拉的负面舆情可谓山呼海啸一般,铲不胜铲;

2月17日,浙江温州一辆特斯拉Model 3“疑似”失控,最终导致与公交车猛烈追尾,Model 3车内乘员一死一伤,与去年11月潮州发生的事件情况类似。
那边厢,2月16日,美国公路交通安全管理局(NHTSA)宣布,因FSD Beta(特斯拉全自动驾驶测试版)可能会导致交通事故,特斯拉将召回362758辆车。这对特斯拉简直是灾难,因为要知道,2022年全年特斯拉在美国本土一共才销售了459779辆车,难怪马斯克要在推特上喷NHTSA“错得离谱”。

马斯克在推特上表示NHTSA“错得离谱”。这招明显不管用,马斯克或许应该借鉴特斯拉在中国的做法,投诉NHTSA“侵权”。
更要命的是,特斯拉的销量出现了趋势性的拐点。
特斯拉生产与销售数据追踪服务商Troy Teslike此前就透露,从2022年7月开始,特斯拉在全球范围内的订单量就一直在迅速减少,截至2022年11月30日,已降至19万辆,环比下降约33%。
在国内,虽然连续进行了大幅度的价格下调,但根据公安部交强险数据,今年1月特斯拉终端销量环比仍然暴跌了34.7%,降至2.7万辆(乘联会公布的6.6万辆批发销量中包含了3.9万辆出口),而比亚迪同期上险量是11.8万台。

卖不动了,于是大幅降价,之后Model 3的销量确实飙涨了一下,但很快又疲态尽显,第7周上险量刚刚破千。
在美国,虽然特斯拉仍主导着美国电动汽车市场,但去年的市场份额相比2021年下滑了约7个百分点;
在欧洲,2022年,特斯拉的新能源车销量不仅远低于大众集团,也低于现代起亚,仅位居第五;
在全球市场,2022年特斯拉总共交付了131万辆,虽然同比增长了40%,但不仅未能完成预期销量目标,而且也被比亚迪超越,失去了全球新能源车销量冠军的头衔——2022年,比亚迪新能源乘用车销量185.74万辆,同比增长212.82%!
销量被比亚迪按在地上摩擦其实也没啥,令人尴尬的是,这可是那个当初被马斯克无比鄙夷、极度不屑的比亚迪!

2011年,在一档公开的采访中,当主持人询问马斯克怎么看比亚迪时,他大笑不止:“你见过他们的车吗?他们的车做得很烂,没有一点技术含量。他们不应该考虑和特斯拉竞争,更应该考虑的是如何在中国活下去。”
任何一个品牌,当然都希望没有所谓的“负面”,但特斯拉需要明白的是,所谓的“负面”并不是媒体无中生有出来的,只要事情接二连三地发生,只要公众看不到真诚的态度、认真的反思,这种负面舆情就只会愈演愈烈,铲是铲不完的!

不仅对媒体,特斯拉对自己的用户更加霸蛮。车主韩某因在官方渠道买到一辆特斯拉二手事故车,将厂家告上法庭,经审理,2021年法院判定特斯拉“退一赔三”(共计退赔韩某151.88万元),但时隔不久,特斯拉就反诉韩某维权过程中侵犯名誉权,索赔505万元!难以想象,一个品牌可以不讲道理到这种程度!

