中国人造太阳技术闪耀,终极能源指日可待?
出品 | 网易新闻
导读:中国“人造太阳”宣布实现了等离子体电流突破100万安培,这是继实现了1056秒的长脉冲高参数等离子体运行后,再次刷新世界托卡马克装置核聚变技术新记录,让中国核聚变技术走向了世界前列。

一、核聚变技术变出“人造太阳”
核聚变的基本原理是轻原子核结合成较重原子核时放出巨大能量,即氘和氚反应生成氦(氘+氚=氦(3.5Mev)+中子(14.1Mev)、中子+锂=氚+氦+4.8Mev),该过程就能够提供大量的能量。核聚变对反应条件要求非常苛刻,太阳就是靠核聚变反应来给太阳系带来光和热。

而“人造太阳”就是人类基于上述反应原理,制造的一种能够提供核聚变环境的装置。实际上,人类发明的氢弹就是采用了核聚变反应,只不过氢弹爆炸产生的能量不可控。人造太阳必须采用“可控”核聚变,才能让核聚变反应产生供人类可用的能量。
前苏联阿齐莫维齐等人所发明的装置——托卡马克,意思是“带有磁场线圈的环形真空室”。其结构主要包括中心螺线管、极向线圈、环向线圈、环形真空室以及其他辅助系统。

相比之下,中国人造太阳技术最早可追溯至1960年,技术引进后又于1993年建造了HT-7托卡马克核聚变装置。在此基础上,中国最新研发出“HT-7U全超导非圆截面托卡马克装置”,也被称作EAST装置,采用磁约束实现对离子的控制,该装置的成功运行标志着我国在托卡马克核聚变堆领域达到国际领先水平。

二、“人造太阳”面临诸多挑战
1.挑战进行氚控制
核聚变反应大的核心就是氚的控制,在反应过程需要保证反应消耗和生成的氚在相当的比例,才能保证该过程的稳定运行。这就需要在核聚变中精确控制输入,能够准确地探测氚反应情况,从而满足稳定运行的控制要求,这一问题是国际难题,也反映了核聚变技术水平。其中,我国达到1065s已经是世界最领先水平。

2.挑战进行反应防护
在核聚反应中,第一壁的工作条件最为苛刻,等离子、中子带有大量能量撞击将会产生不可修复的破坏。同时,第一壁还要防止辐射泄漏,避免内部中子射出与其他物资反应辐射。我国采用钨金属作为第一壁,并且用主动冷却技术最大程度保证第一壁的安全性。
3.挑战实现能量增益
能量增益是指在人类进行核聚变反应中,投入激发核聚变反应的能量和核聚变反应产生的能量的差额,实际上就是能源的转化效率,只有达到正收益核聚变才能具备应用的价值,人们才能将核聚变转化成真正的能源。

三、“人造太阳”关键技术有哪些
1.磁面位形控制
磁面位形是EAST稳态运行的关键,磁面位形控制精度直接影响等离子和第一壁的作用情况,也会影响偏虑器靶板的热负荷。计算机控制系统能够重建离子体磁面位形, 根据实时情况显示控制误差并反馈进行控制调整,快速和精确的实现控制。
EAST开发了一种GPU并行等离子体反演程序P-EFIT,该技术能够在220us内完成65×65格点的一次平衡迭代计算,迭代速度更快,精度更高,满足实时平衡重建的要求。

EAST还研发的新一代积分器,能够避免出现长时间积分零点漂移。该积分器能够诊断输入信号的准确性, 从而进一步提升了磁面控制的精确性。

2.等离子密度控制
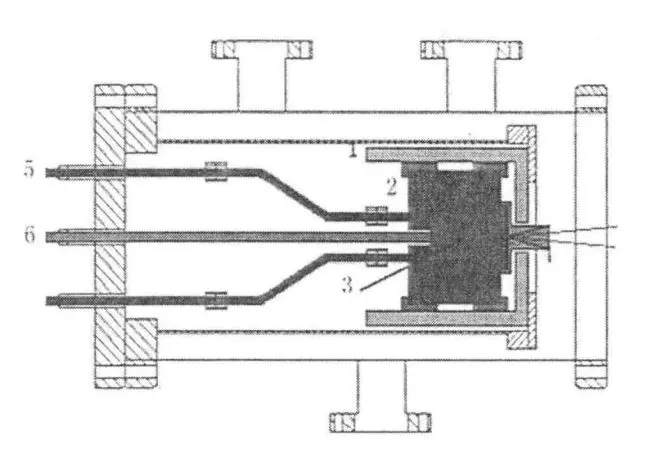
核聚变反应的基本条件就是控制等离子密度,采用超声分子束注入密度控制技术,能够高速定向的注入真空室内部,其中,通过Laval喷射膨胀能够形成超声速分子束流,并且高速射流能够达到芯部。同时,液氦低温泵具备速度快、响应及时的特点,能够配合超声分子束注入燃料粒子,实现稳定的等离子密度控制效果。(下图123456依次为:磁屏蔽、液氮冷阱、电磁阀、喷嘴、液氮管道、高压气源)

3.偏滤器需耐极高热负荷
偏滤器能够控制主等离子体与装置第一壁直接相撞,但其在受到高约束长脉冲运行表面将受到极高热负荷。钨金属是当前最适合用于第一壁的金属材料,由于其具备良好的抗中子活性、机械强度、热传导率。
EAST采用了钨铜偏滤器,将两个钨平板之间放一块铜过渡层,形成靶板的基本结构。利用热等静压技术,通过电子束焊将靶板接到热沉。热沉内含冷却水管通道,最大程度减低偏滤器表面温度。

四、 “人造太阳”未来应用展望
可控核聚变技术是未来能源的终极解决方案,若该技术获得商业化的应用,将直接改变人类的能源格局。根据当前可控核聚变技术规划,目前共划分成四个技术阶段:
1.试验平台上开展深入研究
EAST试验装置将是未来几年最为先进的试验平台,能够在此基础上开展前沿性的技术研究,为未来下一阶段试验堆提供理论支持。
2.逐步建成试验堆
预计2025年建成,ITER国际试验平台将会开展更为先进的技术研究,开展D-T稳态燃烧等离子体试验,稳态长脉冲燃烧等离子体等挑战任务,为下一步工程应用提供支持。
3.推进工程堆建设
预计2030年建成,CFETR工程堆将发挥将理论研究转化成工程成果的效果,再次突破应用边界,将在工程化的要求开展技术研究,为全面商业化开展小型化的应用示范。
4.完成原型电站建设
预计2050年建成,PFPP原型电站简称改为商业化运行的电站,能够安全可靠高效地并网,在人类能源结构中发挥重要作用。

结语:
核聚变研究水平是国家综合技术实力的一种体现。超大电流、超强磁场、超高温、超低温、超高真空等极限环境对技术能力提出了新挑战,也是未来科学技术的重要发展方向。已达到国际领先水平的国产设备未来也将在核聚变的运行时间和能量增益实现新的突破。
参考文献:
[1]徐嘉泓. 可控核聚变技术的发展及应用前景[J]. 中国战略新兴产业, 2018(1X):2.
[2]万宝年,徐国盛.EAST全超导托卡马克高约束稳态运行实验研究进展[J].中国科学:物理学 力学 天文学,2019,49(04):47-59.
[3]段旭如. 未来能源——可控核聚变[J]. 中国核电, 2020, 13(6):1.
[4]叶华龙. 浅析EAST托卡马克及中国核聚变相关研究[J]. 微计算机信息, 2021, 000(012):92-93.

网易《了不起的中国制造》栏目原创内容,侵权必究
「了不起的中国制造」专栏,力邀行业权威、资深玩家,呈现他们眼中的中国创新之路。
合作邮箱:newsresearch_ntes@163.com