欢迎光临散文网 会员登陆 & 注册

iPhone将朝全触控折叠手机前进?新草图曝光:没有任何按键

2023-02-19 22:57 作者:倾弦聊科技  | 我要投稿

iPhone似乎逐渐往全触控折叠机方向前进。近日传出Apple在美国成功取得新折叠机专利,将采取「全机触控」的方式控制相机、音量等功能,还可能会有不同的输入端来操控麦克风、触控板等配件。

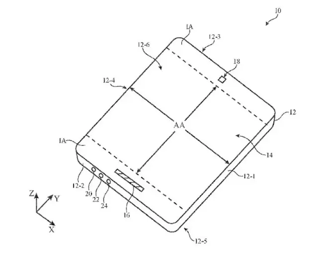
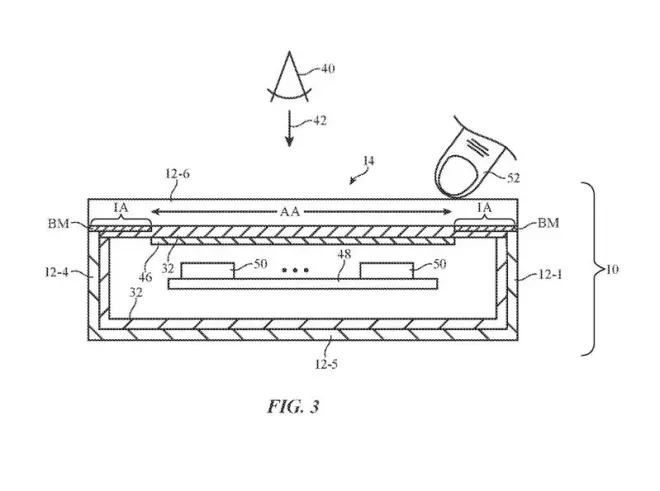
Apple于美国新取得了折叠机的专利,编号为US011579722B2,其正式名称为「Foldable Electronic Device(可折叠式电子装置)」,从其文件来看,全机没有任何一个案件,并且整个机体似乎都是触控屏幕。
从整个机体来看,机体侧边似乎可以调整音量,使用者也可以透过触碰的方式取代所有机械按键,透过草图还可以看见不同的输入孔,似乎亦可透过多元的输入端达到操控麦克风、触控板等配件,使手机有更广泛应用。

根据《ezone》报道,折叠式Apple手机可能于2025年上市,且iPhone该款手机的屏幕尺寸将在7.3寸至7.6寸之间,届时亦有可能加入Apple Pencil支持,值得许多果粉期待。


iPhone将朝全触控折叠手机前进?新草图曝光:没有任何按键的评论 (共 条)

分享到微博请遵守国家法律