ASEMI代理MIMXRT1064CVJ5B原装现货NXP车规级MIMXRT1064CVJ5B
编辑:ll
ASEMI代理MIMXRT1064CVJ5B原装现货NXP车规级MIMXRT1064CVJ5B
型号:MIMXRT1064CVJ5B
品牌:NXP /恩智浦
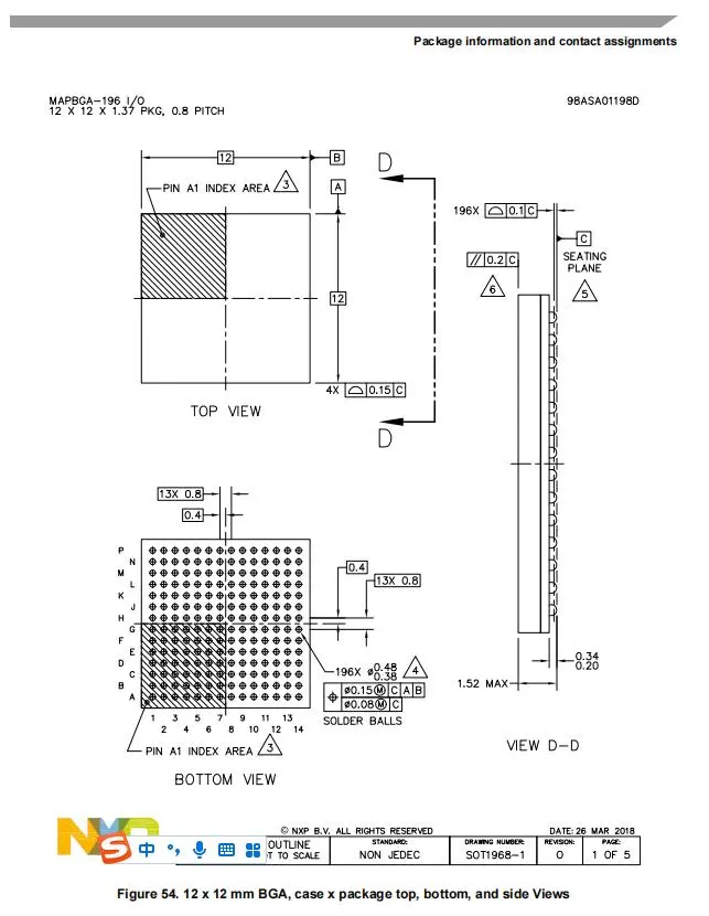
封装:LFGBA-196
批号:2023+
安装类型:表面贴装型
引脚数量:196
类型:集成电路IC
MIMXRT1064CVJ5B是一个新的处理器系列,具有恩智浦对Arm的高级实施Cortex®-M7核心,运行速度高达528
MHz,可提供高CPU性能和最佳性能实时响应。
MIMXRT1064CVJ5B处理器具有4 MB片上闪存和1 MB片上RAM。
MIMXRT1064CVJ5B可以灵活使用配置为TCM或通用片上RAM,而另一个512KB的SRAM是通用的片上RAM。
MIMXRT1064CVJ5B集成了高级带有DCDC和LDO的电源管理模块降低了外部电源的复杂性简化了功率排序。
MIMXRT1064CVJ5B也提供各种存储器接口,RAW NAND闪存、NOR闪存、SD/eMC、Quad
SPI和各种其他用于连接的接口
外围设备,如WLAN、蓝牙™, 全球定位系统,显示器和摄像机传感器。
MIMXRT1064CVJ5B具有丰富的音频和视频功能,包括LCD显示屏,基本
2D图形、摄像头接口、SPDIF和I2S音频
i.MX RT1064交叉
工业处理器




